专利数据库
统计分析
产业报告
专利数据监控
产业人才
行业动态
产业政策法规
维权援助
个人中心
详情
文本
图像
标题
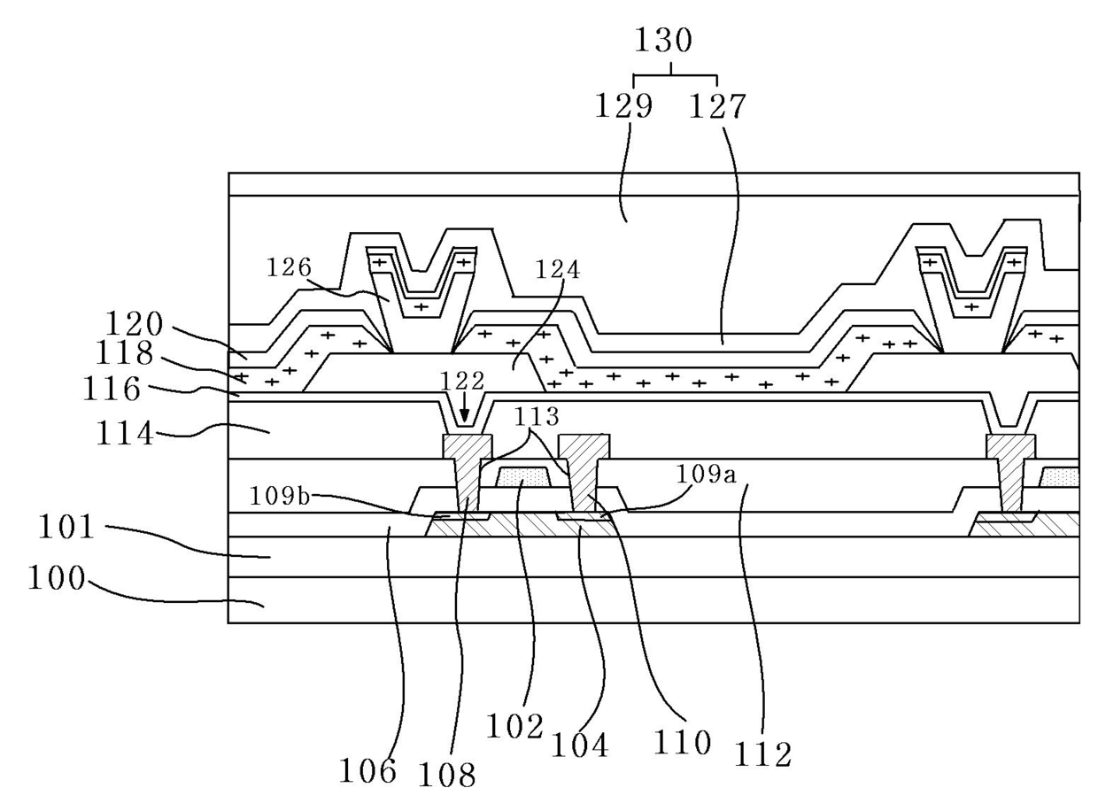
발광 표시 패널
授权日
1900-01-01
公开(公告)号
KR1020170041370A
申请日
2015-10-07
公开(公告)日
2017-04-17
当前申请(专利权)人
LG DISPLAY CO. LTD.
发明人
HAN JONG HYUN | CHO YOON DONG
简单同族
KR1020170041370A
简单同族成员数量
1
简单同族被引用专利总数
0
诉讼案件数
0
法律状态/事件
实质审查