专利数据库
统计分析
产业报告
专利数据监控
产业人才
行业动态
产业政策法规
维权援助
个人中心
详情
文本
图像
标题
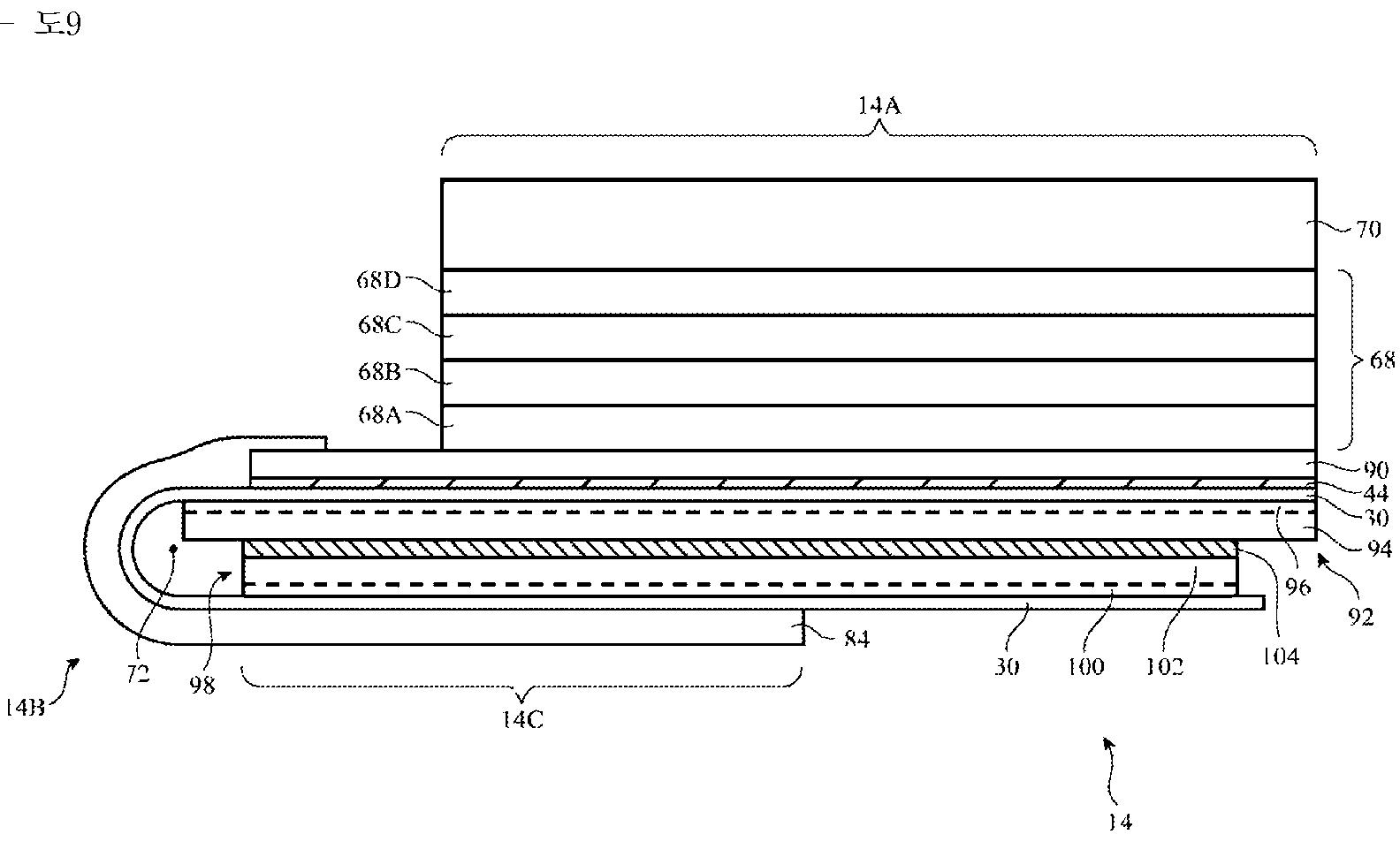
구부러진 기판을 구비한 가요성 디스플레이 패널
授权日
1900-01-01
公开(公告)号
KR1020170095280A
申请日
2016-01-08
公开(公告)日
2017-08-22
当前申请(专利权)人
애플 인크.
发明人
장,젠 | 타오,이 | 디제익,폴,에스. | 부르첼,조슈아,지.
简单同族
CN105789255A | CN105789255B | CN109904203A | CN205680685U | EP3245678A1 | KR101950128B1 | KR1020170095280A | KR1020190018553A | KR102096221B1 | TW201633514A | TWI625846B | US20160204366A1 | US20170263873A1 | US9614168 | WO2016114996A1
简单同族成员数量
15
简单同族被引用专利总数
50
诉讼案件数
0
法律状态/事件
授权
抱歉,您的浏览器不支持PDF预览,请点击链接下载PDF文件