专利数据库
统计分析
产业报告
专利数据监控
产业人才
行业动态
产业政策法规
维权援助
个人中心
详情
文本
图像
标题
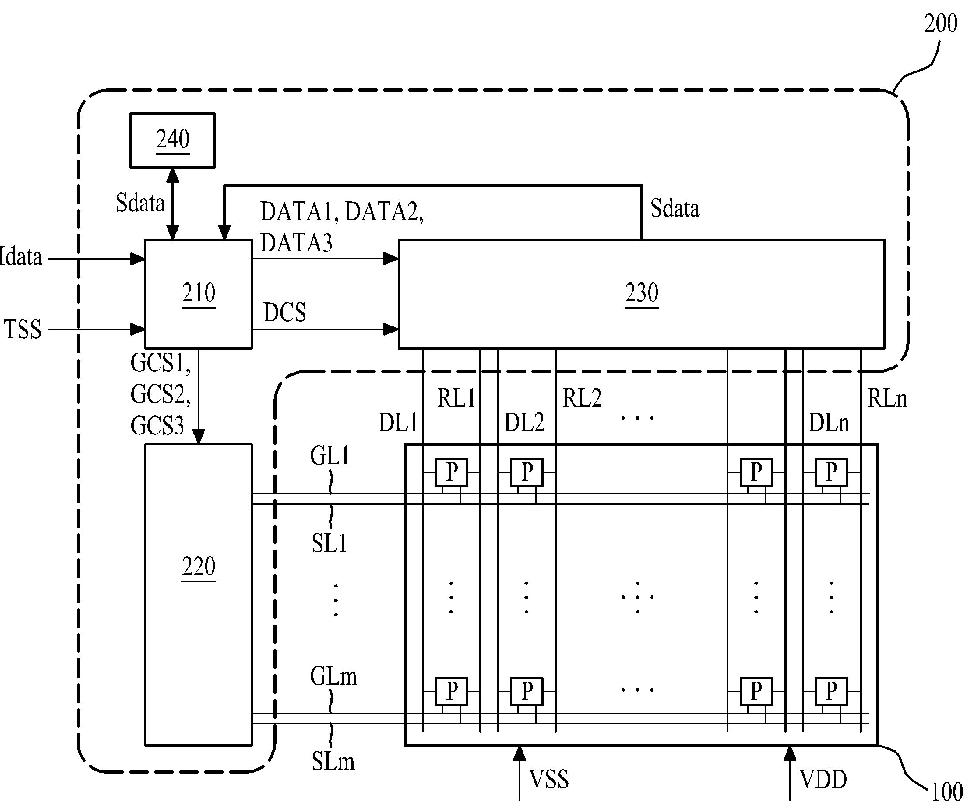
유기 발광 표시 장치 및 이의 구동 방법
授权日
2019-06-03
公开(公告)号
KR101987078B1
申请日
2012-12-27
公开(公告)日
2019-10-01
当前申请(专利权)人
엘지디스플레이 주식회사
发明人
최성민 | 김일호
简单同族
KR101987078B1 | KR1020140085739A
简单同族成员数量
2
简单同族被引用专利总数
0
诉讼案件数
0
法律状态/事件
授权
抱歉,您的浏览器不支持PDF预览,请点击链接下载PDF文件