专利数据库
统计分析
产业报告
专利数据监控
产业人才
行业动态
产业政策法规
维权援助
个人中心
详情
文本
图像
标题
발명의 명칭 유기 발광 표시 장치 및 그 제조 방법
授权日
1900-01-01
公开(公告)号
KR1020150097856A
申请日
2014-02-17
公开(公告)日
2015-08-27
当前申请(专利权)人
SAMSUNG DISPLAY CO., LTD.
发明人
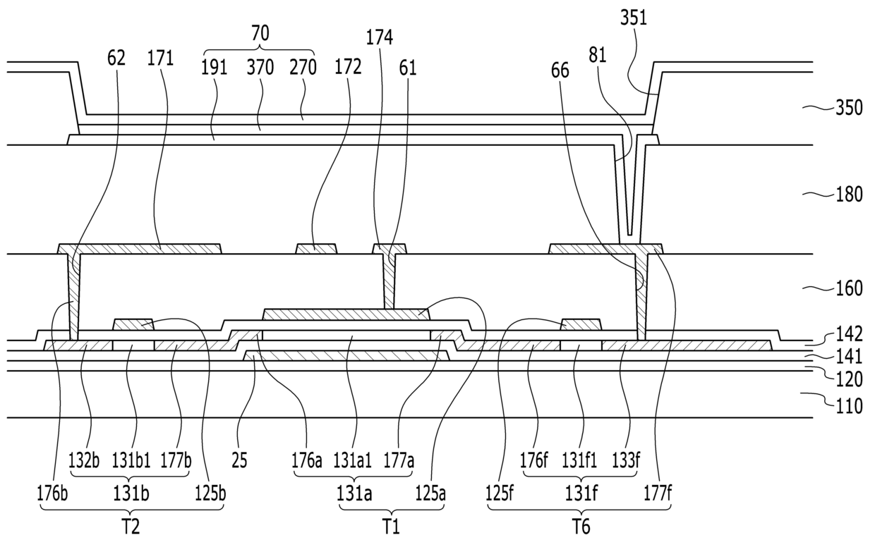
ZHAN, ZHI FENG
简单同族
KR1020150097856A
简单同族成员数量
1
简单同族被引用专利总数
0
诉讼案件数
0
法律状态/事件
撤回
抱歉,您的浏览器不支持PDF预览,请点击链接下载PDF文件