专利数据库
统计分析
产业报告
专利数据监控
产业人才
行业动态
产业政策法规
维权援助
个人中心
详情
文本
图像
标题
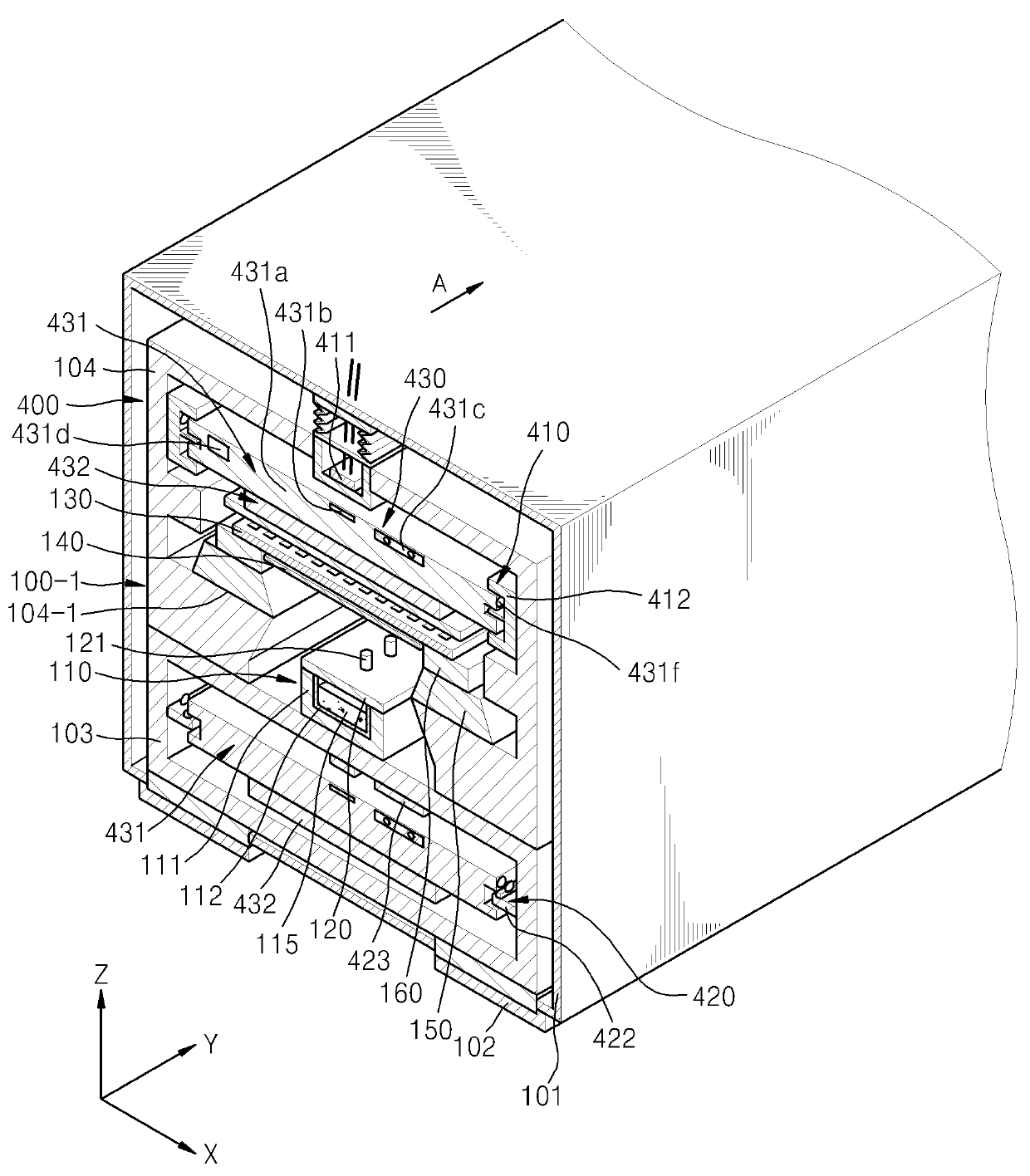
유기층 증착 장치, 이를 이용한 유기 발광 디스플레이 장치의 제조 방법 및 이에 따라 제조된 유기 발광 디스플레이 장치
授权日
2019-11-28
公开(公告)号
KR102052069B1
申请日
2012-11-09
公开(公告)日
2019-12-05
当前申请(专利权)人
삼성디스플레이 주식회사
发明人
장윤호
简单同族
CN103805945A | CN103805945B | JP2014096363A | JP2014096363A5 | JP6234766B2 | KR1020140060171A | KR102052069B1 | TW201418487A | TWI640641B | US20140131667A1 | US8945979
简单同族成员数量
11
简单同族被引用专利总数
46
诉讼案件数
0
法律状态/事件
授权
抱歉,您的浏览器不支持PDF预览,请点击链接下载PDF文件