专利数据库
统计分析
产业报告
专利数据监控
产业人才
行业动态
产业政策法规
维权援助
个人中心
详情
文本
图像
标题
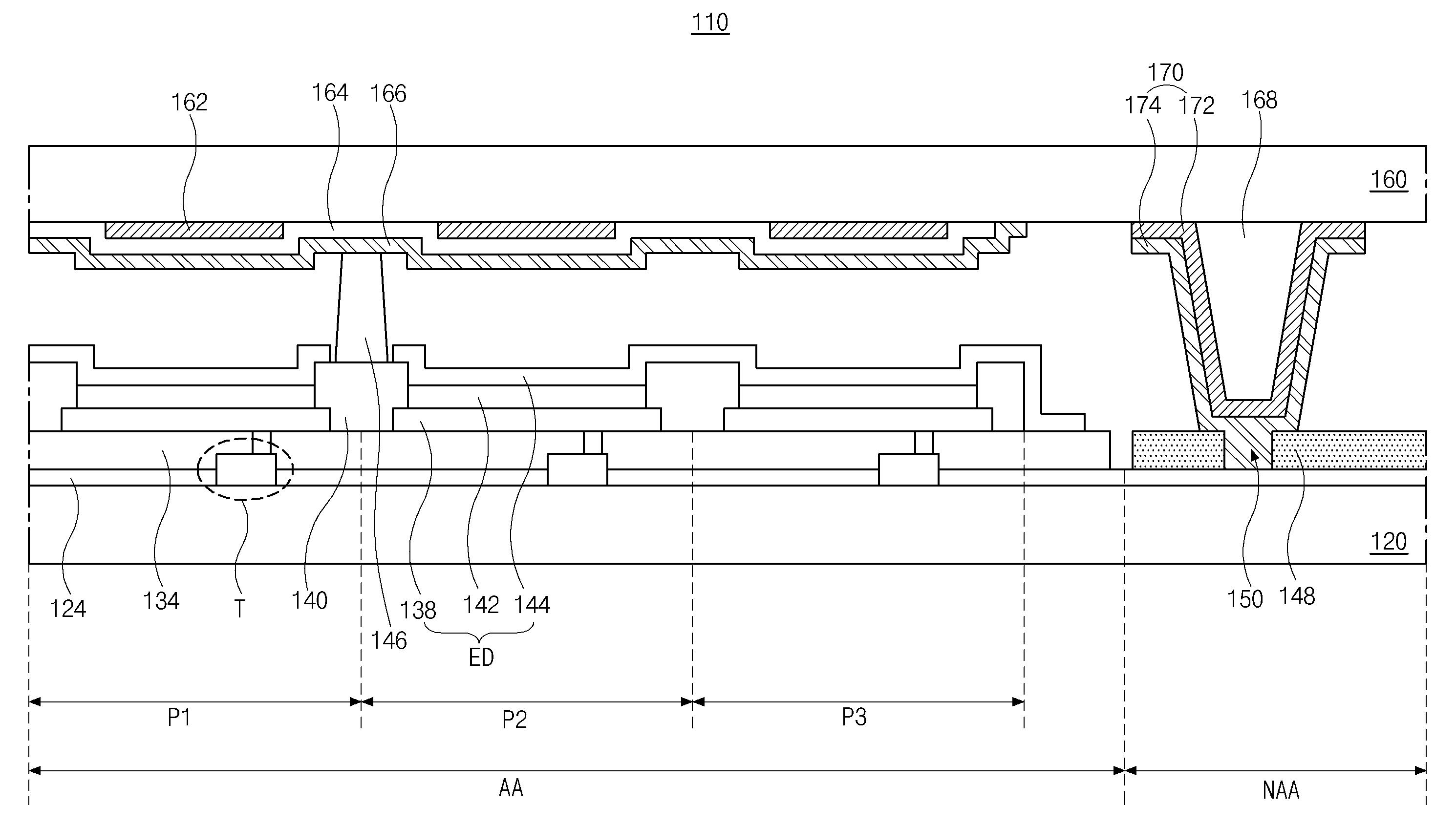
발명의 명칭 유기발광다이오드 표시장치 및 그 제조방법
授权日
1900-01-01
公开(公告)号
KR1020160138801A
申请日
2015-05-26
公开(公告)日
2016-12-06
当前申请(专利权)人
이창희
发明人
이창희
简单同族
KR1020160138801A
简单同族成员数量
1
简单同族被引用专利总数
0
诉讼案件数
0
法律状态/事件
授权
抱歉,您的浏览器不支持PDF预览,请点击链接下载PDF文件