专利数据库
统计分析
产业报告
专利数据监控
产业人才
行业动态
产业政策法规
维权援助
个人中心
详情
文本
图像
标题
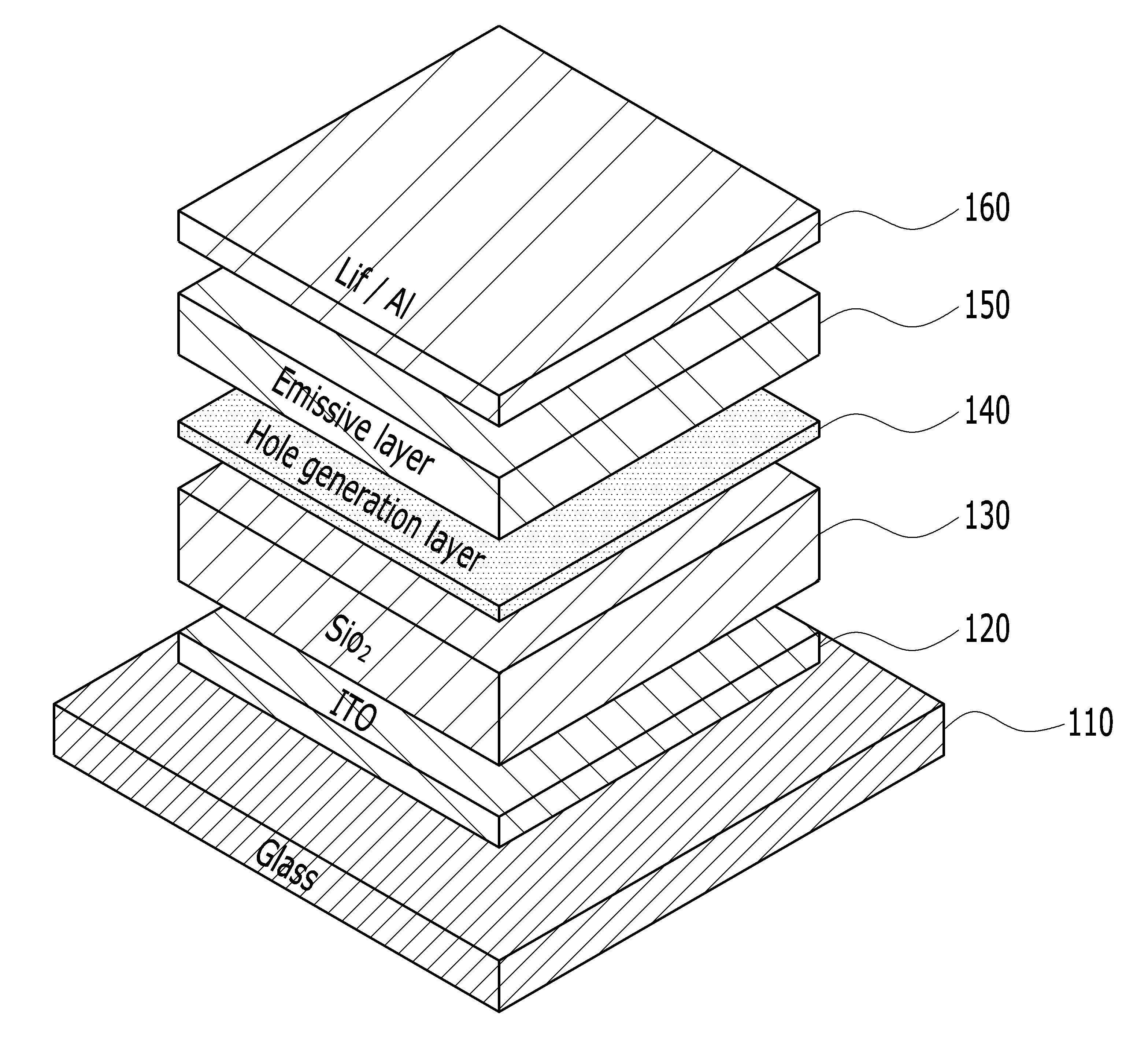
발명의 명칭 전도성 고분자 및 다중벽 탄소나노튜브 분산체로 구성된 정공생성층을 이용한 교류구동 전계
授权日
2017-01-31
公开(公告)号
KR101703454B1
申请日
2015-11-27
公开(公告)日
2017-02-09
当前申请(专利权)人
연세대학교 산학협력단
发明人
박철민 | 이주한
简单同族
KR101703454B1
简单同族成员数量
1
简单同族被引用专利总数
0
诉讼案件数
0
法律状态/事件
授权
抱歉,您的浏览器不支持PDF预览,请点击链接下载PDF文件