专利数据库
统计分析
产业报告
专利数据监控
产业人才
行业动态
产业政策法规
维权援助
个人中心
详情
文本
图像
标题
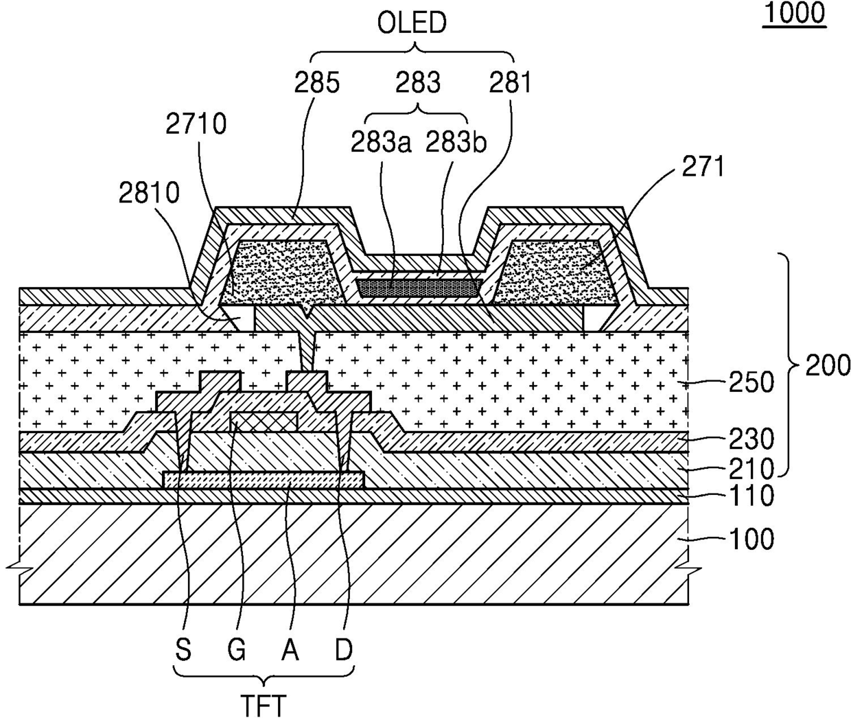
유기 발광 표시 장치 및 그 제조 방법
授权日
1900-01-01
公开(公告)号
KR1020170137978A
申请日
2016-06-03
公开(公告)日
2017-12-14
当前申请(专利权)人
삼성디스플레이 주식회사
发明人
조승환 | 박상호 | 윤주선 | 이승민 | 이정규 | 이장두
简单同族
KR101890215B1 | KR1020170137978A
简单同族成员数量
2
简单同族被引用专利总数
0
诉讼案件数
0
法律状态/事件
授权
抱歉,您的浏览器不支持PDF预览,请点击链接下载PDF文件