专利数据库
统计分析
产业报告
专利数据监控
产业人才
行业动态
产业政策法规
维权援助
个人中心
详情
文本
图像
标题
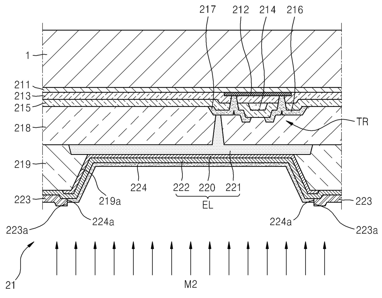
발명의 명칭 유기 발광 표시장치 및 그 제조방법
授权日
2014-06-09
公开(公告)号
KR101407587B1
申请日
2011-06-02
公开(公告)日
2014-06-13
当前申请(专利权)人
삼성디스플레이 주식회사
发明人
정진구 | 최준호 | 김성민
简单同族
CN102856505A | CN102856505B | EP2530717A2 | EP2530717A3 | JP2012253015A | JP6084781B2 | KR101407587B1 | KR1020120134464A | TW201251003A | TWI565047B | US20120313099A1 | US8872206
简单同族成员数量
12
简单同族被引用专利总数
60
诉讼案件数
0
法律状态/事件
授权
抱歉,您的浏览器不支持PDF预览,请点击链接下载PDF文件