专利数据库
统计分析
产业报告
专利数据监控
产业人才
行业动态
产业政策法规
维权援助
个人中心
详情
文本
图像
标题
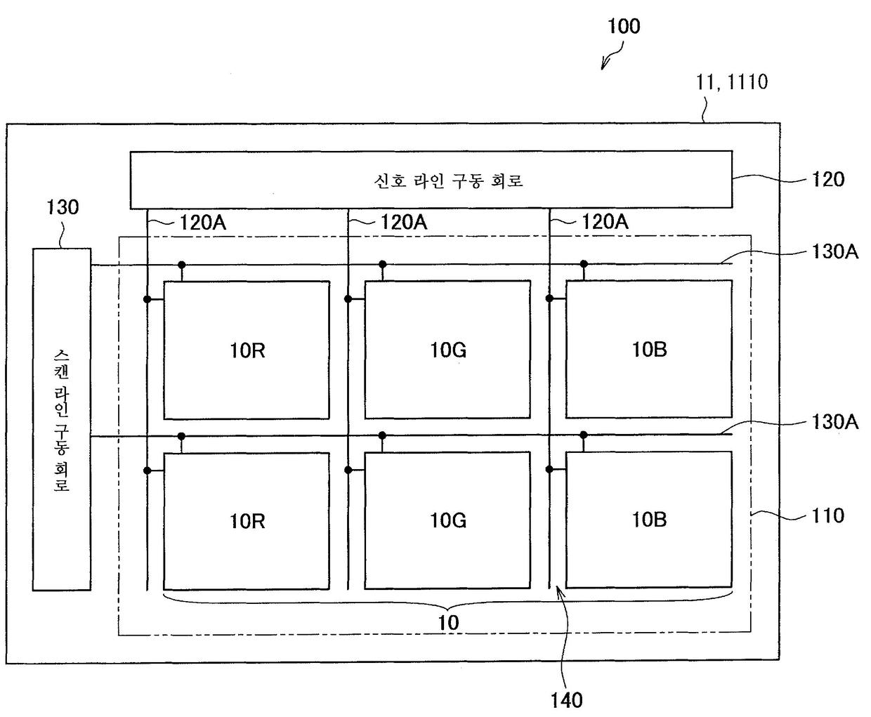
디스플레이 및 그 제조 방법, 유닛, 전사 인쇄 방법, 유기 전계발광 유닛 및 그 제조 방법, 그리고 전자 장치
授权日
2018-08-31
公开(公告)号
KR101896125B1
申请日
2013-01-11
公开(公告)日
2018-09-07
当前申请(专利权)人
가부시키가이샤 제이올레드
发明人
안도마코토 | 다카기가즈나리
简单同族
CN103219356A | CN103219356B | KR101896125B1 | KR1020130085377A | TW201332101A | TWI508279B | US20130187132A1 | US9711723
简单同族成员数量
8
简单同族被引用专利总数
72
诉讼案件数
0
法律状态/事件
授权
抱歉,您的浏览器不支持PDF预览,请点击链接下载PDF文件