专利数据库
统计分析
产业报告
专利数据监控
产业人才
行业动态
产业政策法规
维权援助
个人中心
详情
文本
图像
标题
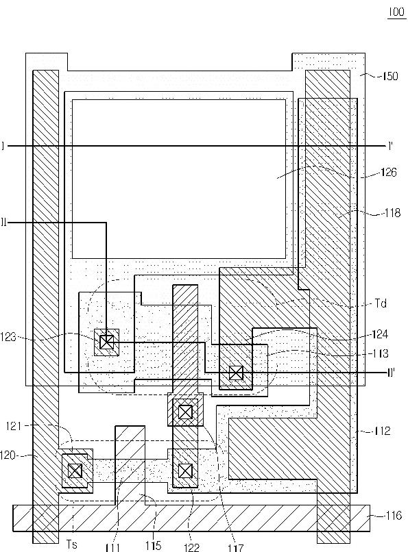
유기발광다이오드 표시장치 및 그 제조방법
授权日
2019-05-07
公开(公告)号
KR101977667B1
申请日
2012-12-21
公开(公告)日
2019-05-13
当前申请(专利权)人
엘지디스플레이 주식회사
发明人
윤순일 | 홍성진 | 김근영 | 김동연
简单同族
KR101977667B1 | KR1020140081178A
简单同族成员数量
2
简单同族被引用专利总数
0
诉讼案件数
0
法律状态/事件
授权
抱歉,您的浏览器不支持PDF预览,请点击链接下载PDF文件