专利数据库
统计分析
产业报告
专利数据监控
产业人才
行业动态
产业政策法规
维权援助
个人中心
详情
文本
图像
标题
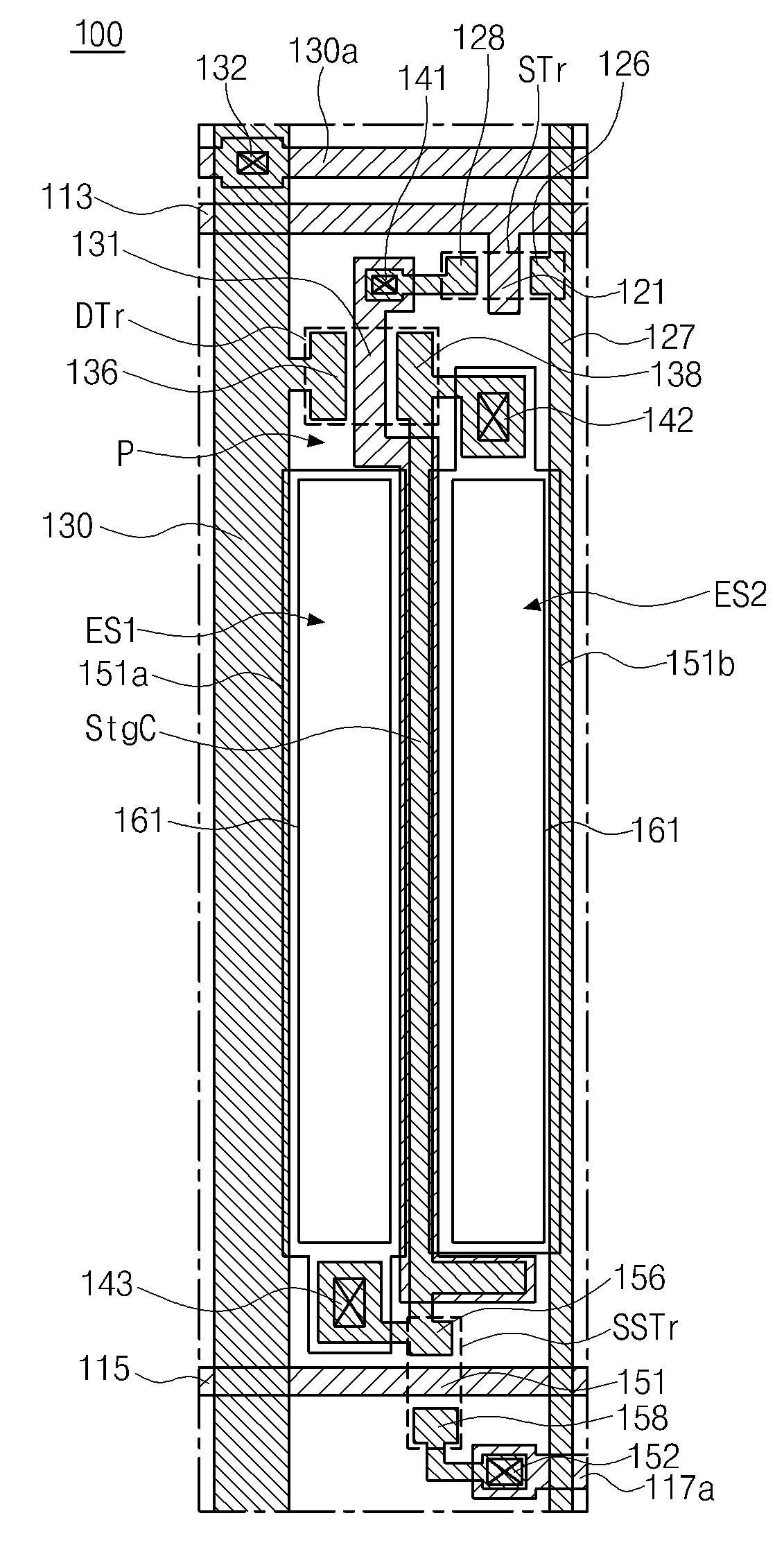
유기발광다이오드 표시장치 및 이의 리페어 방법
授权日
2020-03-20
公开(公告)号
KR102093627B1
申请日
2013-10-30
公开(公告)日
2020-03-26
当前申请(专利权)人
엘지디스플레이 주식회사
发明人
이현행 | 김범식 | 김홍석
简单同族
KR1020150049471A | KR102093627B1
简单同族成员数量
2
简单同族被引用专利总数
0
诉讼案件数
0
法律状态/事件
授权
抱歉,您的浏览器不支持PDF预览,请点击链接下载PDF文件