专利数据库
统计分析
产业报告
专利数据监控
产业人才
行业动态
产业政策法规
维权援助
个人中心
详情
文本
图像
标题
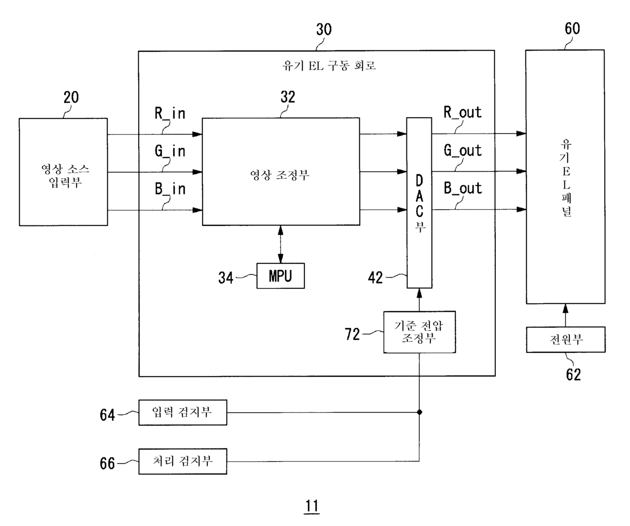
표시 장치, 휴대 단말기, 및 휴대 단말기에서의 휘도 제어방법
授权日
1900-01-01
公开(公告)号
KR1020050018648A
申请日
2003-03-27
公开(公告)日
2005-02-23
当前申请(专利权)人
산요덴키가부시키가이샤
发明人
모리,유끼오 | 다나세,스스무 | 야마시따,아쯔히로 | 이노우에,마스따까 | 기노시따,시게오 | 무라따,하루히꼬 | 야부까와,다까시 | 고야,히로유끼
简单同族
AU2003227247A1 | CN1643564A | EP1494202A1 | EP1494202A4 | JPWO2003081567A1 | KR100789622B1 | KR1020050018648A | KR1020070065411A | US20050093958A1 | US7456852 | WO2003081567A1
简单同族成员数量
11
简单同族被引用专利总数
51
诉讼案件数
0
法律状态/事件
授权
抱歉,您的浏览器不支持PDF预览,请点击链接下载PDF文件