专利数据库
统计分析
产业报告
专利数据监控
产业人才
行业动态
产业政策法规
维权援助
个人中心
详情
文本
图像
标题
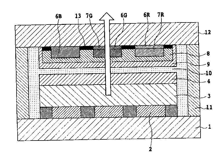
유기 EL 디스플레이
授权日
2009-08-28
公开(公告)号
KR100915616B1
申请日
2003-05-21
公开(公告)日
2009-09-07
当前申请(专利权)人
후지 덴키 가부시키가이샤
发明人
가와무라,유키노리 | 가와구치,고지 | 사쿠라이,켄야
简单同族
AU2003242355A1 | CN1656852A | DE10392604T5 | GB0425133D0 | GB2404276A | GB2404276B | JPWO2003101155A1 | KR100915616B1 | KR1020040111629A | TW200428901A | TWI272871B | US20050248929A1 | US7456570 | WO2003101155A1
简单同族成员数量
14
简单同族被引用专利总数
63
诉讼案件数
0
法律状态/事件
授权 | 权利转移
抱歉,您的浏览器不支持PDF预览,请点击链接下载PDF文件