专利数据库
统计分析
产业报告
专利数据监控
产业人才
行业动态
产业政策法规
维权援助
个人中心
详情
文本
图像
标题
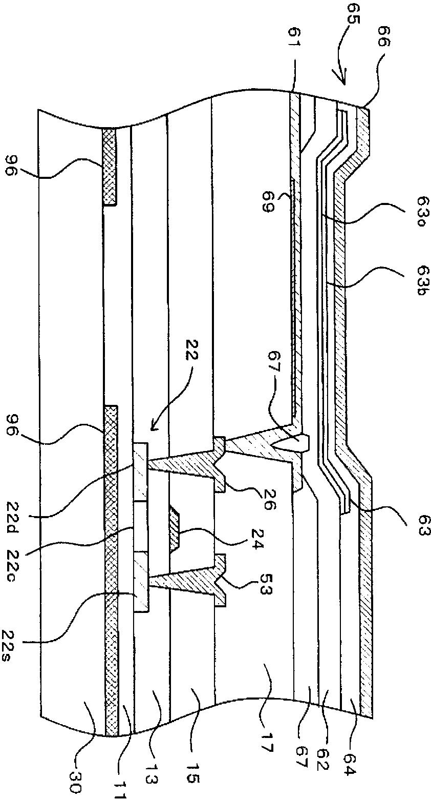
유기 EL 소자 및 유기 EL 패널
授权日
1900-01-01
公开(公告)号
KR1020050031964A
申请日
2004-09-24
公开(公告)日
2005-04-06
当前申请(专利权)人
산요덴키가부시키가이샤
发明人
니시까와류지 | 오무라데쯔지
简单同族
CN100405876C | CN1604706A | JP2005108736A | JP4497881B2 | KR100782732B1 | KR1020050031964A | TW200513141A | TWI235015B | US20050067945A1 | US7498738
简单同族成员数量
10
简单同族被引用专利总数
81
诉讼案件数
0
法律状态/事件
授权 | 复审 | 异议
抱歉,您的浏览器不支持PDF预览,请点击链接下载PDF文件