专利数据库
统计分析
产业报告
专利数据监控
产业人才
行业动态
产业政策法规
维权援助
个人中心
详情
文本
图像
标题
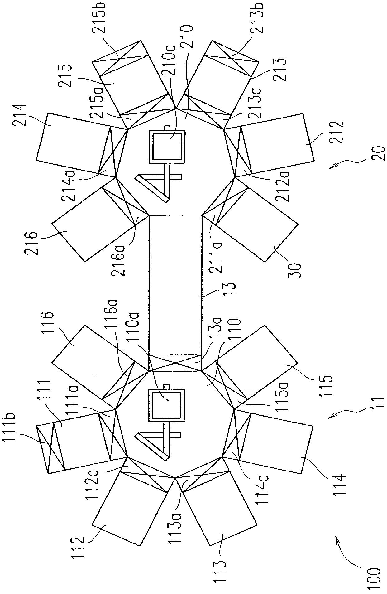
유기이엘 디스플레이 제조장치 및 유기이엘 디스플레이의제조방법
授权日
2006-01-26
公开(公告)号
KR100549099B1
申请日
2002-06-03
公开(公告)日
2006-02-02
当前申请(专利权)人
미쓰보시 다이야몬도 고교 가부시키가이샤
发明人
와카야마하루오
简单同族
CN100346498C | CN1516990A | JP3602846B2 | JPWO2002104078A1 | KR100549099B1 | KR1020030096263A | TWI257265B | WO2002104078A1
简单同族成员数量
8
简单同族被引用专利总数
69
诉讼案件数
0
法律状态/事件
未缴年费
抱歉,您的浏览器不支持PDF预览,请点击链接下载PDF文件