专利数据库
统计分析
产业报告
专利数据监控
产业人才
行业动态
产业政策法规
维权援助
个人中心
详情
文本
图像
标题
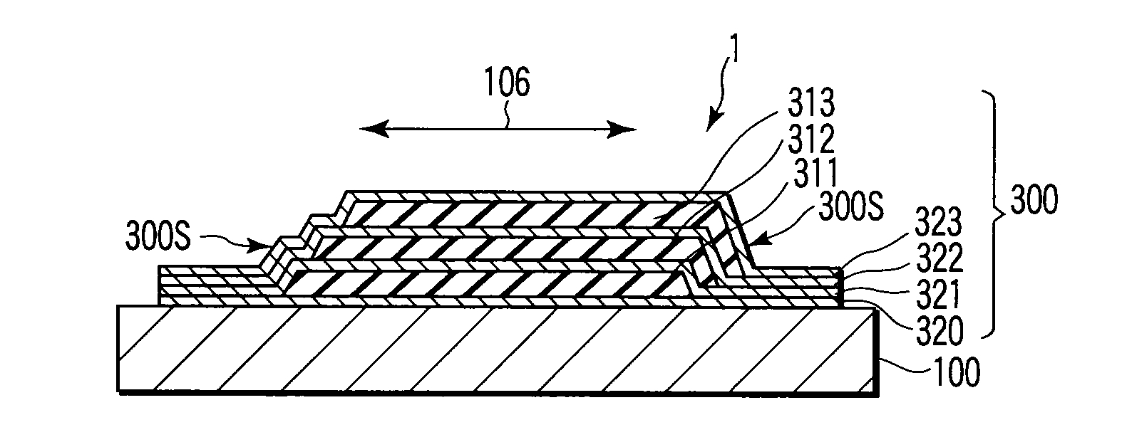
표시 소자, 광학 디바이스 및 광학 디바이스의 제조 방법
授权日
1900-01-01
公开(公告)号
KR1020050051570A
申请日
2004-11-26
公开(公告)日
2005-06-01
当前申请(专利权)人
가부시키가이샤 저팬 디스플레이 센트럴
发明人
사노히로시 | 스미따시로 | 요시오까다쯔오
简单同族
CN100472844C | CN1645975A | KR100688366B1 | KR1020050051570A | TW200522777A | TWI254596B | US20050156513A1 | US7612498
简单同族成员数量
8
简单同族被引用专利总数
55
诉讼案件数
0
法律状态/事件
授权
抱歉,您的浏览器不支持PDF预览,请点击链接下载PDF文件