专利数据库
统计分析
产业报告
专利数据监控
产业人才
行业动态
产业政策法规
维权援助
个人中心
详情
文本
图像
标题
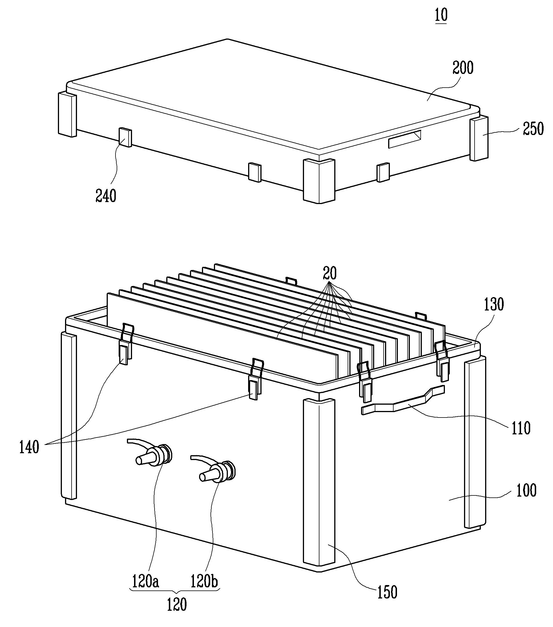
패널 보관장치
授权日
1900-01-01
公开(公告)号
KR1020100087868A
申请日
2009-01-29
公开(公告)日
2010-08-06
当前申请(专利权)人
삼성모바일디스플레이주식회사
发明人
황정호 | 이동수 | 이현희 | 조대한 | 김민수 | 문찬경 | 왕찬희
简单同族
KR100993429B1 | KR1020100087868A
简单同族成员数量
2
简单同族被引用专利总数
0
诉讼案件数
0
法律状态/事件
授权 | 权利转移
抱歉,您的浏览器不支持PDF预览,请点击链接下载PDF文件