专利数据库
统计分析
产业报告
专利数据监控
产业人才
行业动态
产业政策法规
维权援助
个人中心
详情
文本
图像
标题
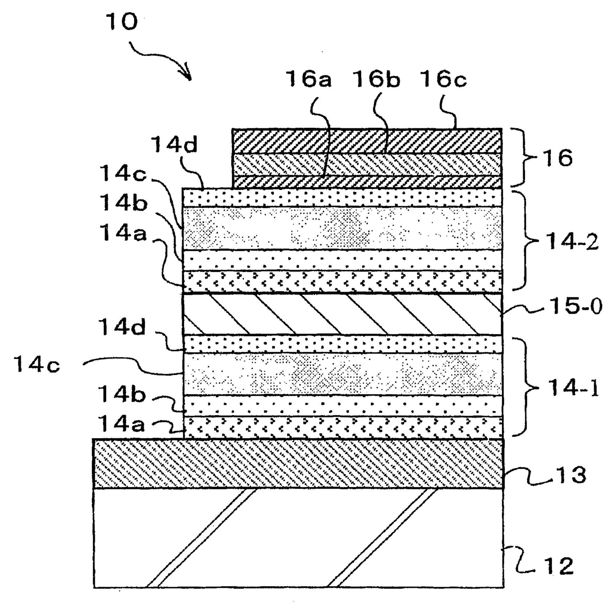
발명의 명칭 표시 소자
授权日
2012-08-09
公开(公告)号
KR101174530B1
申请日
2005-02-18
公开(公告)日
2012-08-16
当前申请(专利权)人
소니 주식회사
发明人
기지마,야스노리 | 시바누마,데쯔오 | 마쯔나미,시게유끼 | 도모,요이찌
简单同族
CN100482019C | CN1943277A | EP1718120A2 | EP1718120A4 | EP1718120B1 | JP2006173550A | JP5167571B2 | KR101174530B1 | KR101212848B1 | KR101212851B1 | KR1020070004630A | KR1020120013463A | KR1020120014230A | TW200539733A | TWI268118B | US20070181887A1 | US7736754 | WO2005076753A2 | WO2005076753A3
简单同族成员数量
19
简单同族被引用专利总数
177
诉讼案件数
0
法律状态/事件
授权 | 权利转移
抱歉,您的浏览器不支持PDF预览,请点击链接下载PDF文件