专利数据库
统计分析
产业报告
专利数据监控
产业人才
行业动态
产业政策法规
维权援助
个人中心
详情
文本
图像
标题
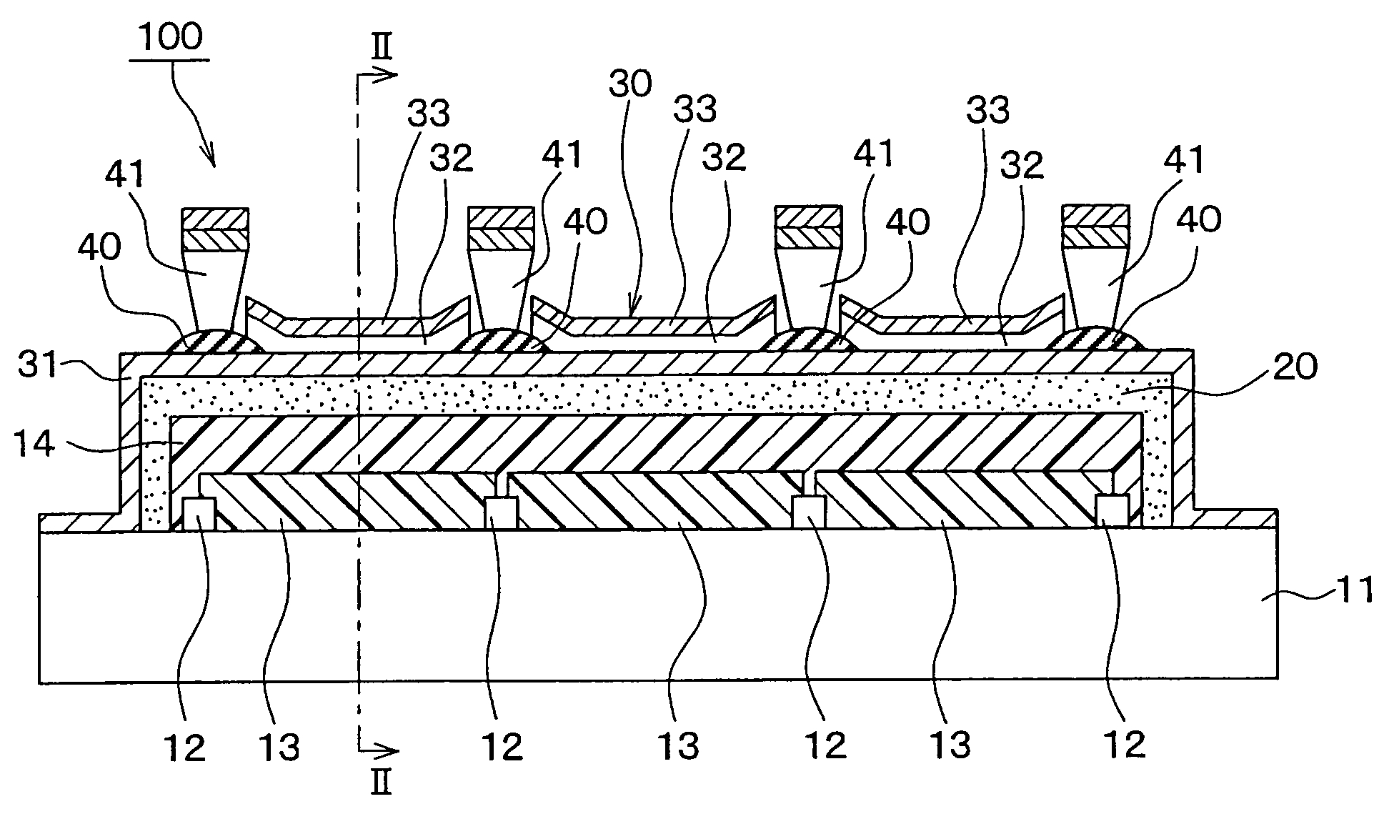
컬러 유기 EL 표시 장치 및 그 제조 방법
授权日
1900-01-01
公开(公告)号
KR1020060053897A
申请日
2005-07-19
公开(公告)日
2006-05-22
当前申请(专利权)人
가부시키가이샤 덴소
发明人
이시다다이죠 | 모리가오루 | 미야지시게루 | 가와이쇼이치 | 데라료노스케 | 이노고지
简单同族
JP2006253106A | JP4363365B2 | KR100645685B1 | KR1020060053897A | TW200614558A | TWI265650B | US20060017383A1 | US20090191781A1 | US8263175
简单同族成员数量
9
简单同族被引用专利总数
59
诉讼案件数
0
法律状态/事件
授权
抱歉,您的浏览器不支持PDF预览,请点击链接下载PDF文件