专利数据库
统计分析
产业报告
专利数据监控
产业人才
行业动态
产业政策法规
维权援助
个人中心
详情
文本
图像
标题
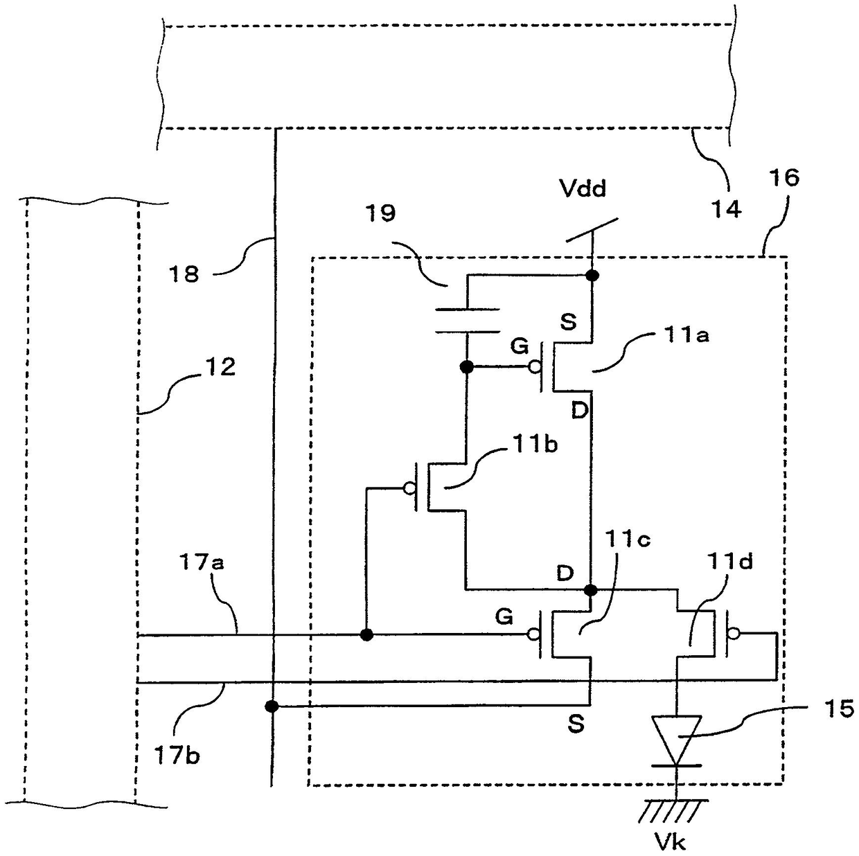
EL 표시 장치
授权日
2009-08-07
公开(公告)号
KR100912320B1
申请日
2002-09-06
公开(公告)日
2009-08-14
当前申请(专利权)人
파나소닉 주식회사
发明人
츠게히토시 | 다카하라히로시
简单同族
CN100589162C | CN1552052A | EP1434193A1 | EP1434193A4 | JP4452076B2 | JPWO2003023752A1 | JPWO2003023752A5 | KR100714513B1 | KR100805522B1 | KR100912320B1 | KR1020040031039A | KR1020060130263A | KR1020070065415A | US20050030264A1 | US20070146251A1 | US7528812 | WO2003023752A1
简单同族成员数量
17
简单同族被引用专利总数
364
诉讼案件数
0
法律状态/事件
授权 | 权利转移
抱歉,您的浏览器不支持PDF预览,请点击链接下载PDF文件