专利数据库
统计分析
产业报告
专利数据监控
产业人才
行业动态
产业政策法规
维权援助
个人中心
详情
文本
图像
标题
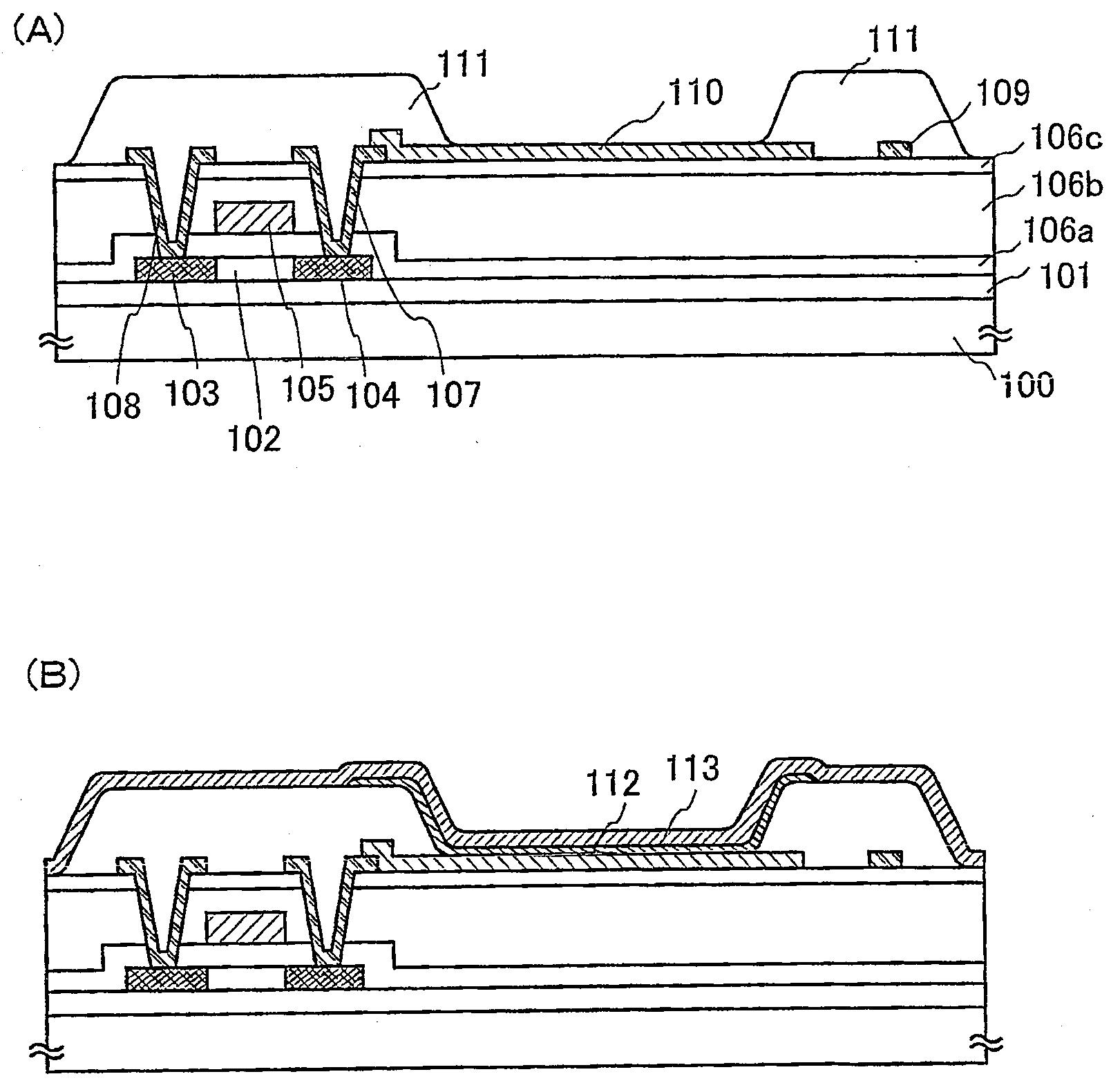
표시장치의 제작방법
授权日
1900-01-01
公开(公告)号
KR1020050084497A
申请日
2003-12-19
公开(公告)日
2005-08-26
当前申请(专利权)人
가부시키가이샤 한도오따이 에네루기 켄큐쇼
发明人
츠치야,카오루 | 이시가키,아유미 | 사이토,케이코
简单同族
AU2003289449A1 | CN100484350C | CN1732719A | JP4554367B2 | JPWO2004062323A1 | JPWO2004062323A5 | KR101017854B1 | KR1020050084497A | US20040246432A1 | US7452257 | WO2004062323A1
简单同族成员数量
11
简单同族被引用专利总数
67
诉讼案件数
0
法律状态/事件
授权
抱歉,您的浏览器不支持PDF预览,请点击链接下载PDF文件