专利数据库
统计分析
产业报告
专利数据监控
产业人才
行业动态
产业政策法规
维权援助
个人中心
详情
文本
图像
标题
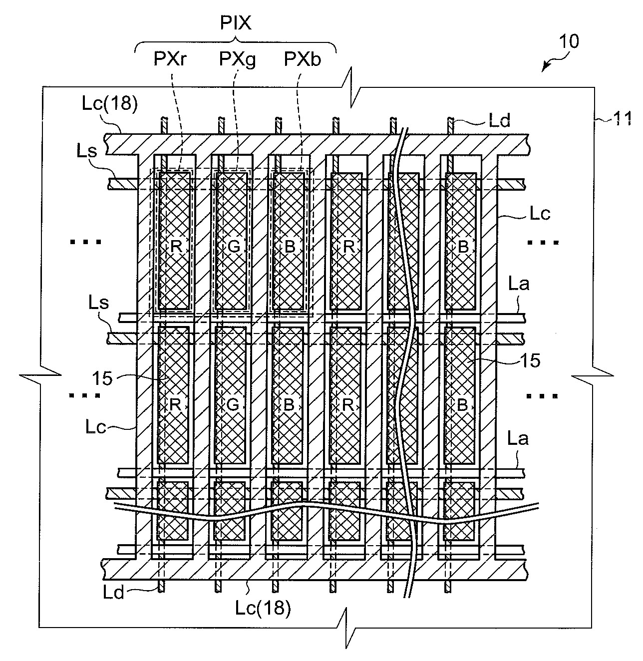
표시장치 및 그 제조방법
授权日
1900-01-01
公开(公告)号
KR1020070110200A
申请日
2007-05-10
公开(公告)日
2007-11-16
当前申请(专利权)人
가시오게산키 가부시키가이샤
发明人
KUMAGAI, MINORU
简单同族
CN100511645C | CN100511703C | CN101090093A | CN101090132A | JP2007305357A | JP4415971B2 | KR100817992B1 | KR1020070110200A | TW200802842A | TWI352427B | US20070263164A1 | US20100090933A1 | US7695759 | US8049413
简单同族成员数量
14
简单同族被引用专利总数
60
诉讼案件数
0
法律状态/事件
授权
抱歉,您的浏览器不支持PDF预览,请点击链接下载PDF文件