专利数据库
统计分析
产业报告
专利数据监控
产业人才
行业动态
产业政策法规
维权援助
个人中心
详情
文本
图像
标题
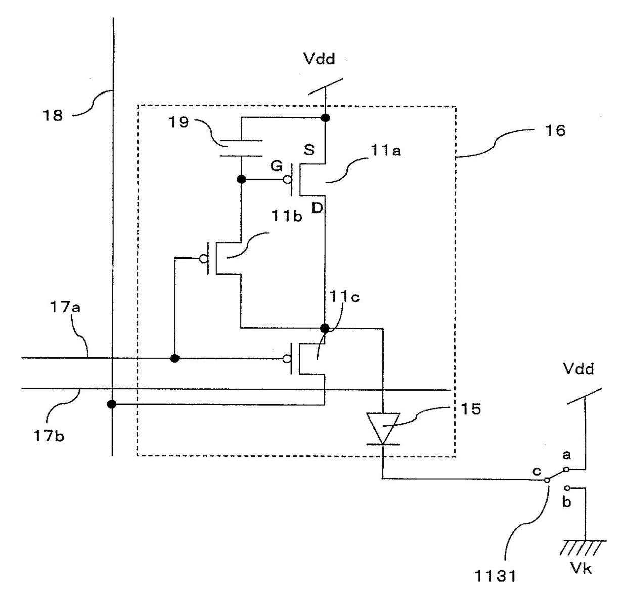
EL 표시 장치의 구동 방법
授权日
1900-01-01
公开(公告)号
KR1020060129094A
申请日
2003-03-06
公开(公告)日
2006-12-14
当前申请(专利权)人
가부시키가이샤 저팬 디스플레이 센트럴
发明人
다까하라,히로시
简单同族
CN1662946A | JP2008165246A | JP2008165247A | JP2008276226A | JP4146421B2 | JP4612705B2 | JPWO2003091979A1 | JPWO2003091979A5 | KR100702103B1 | KR100956463B1 | KR100986866B1 | KR101017797B1 | KR1020050007340A | KR1020060129094A | KR1020070092766A | KR1020070099050A | KR1020070099051A | TW200402672A | TWI254264B | US20050168490A1 | US20090184984A1 | US20100265277A1 | US7742019 | US7924248 | WO2003091979A1
简单同族成员数量
25
简单同族被引用专利总数
285
诉讼案件数
0
法律状态/事件
授权
抱歉,您的浏览器不支持PDF预览,请点击链接下载PDF文件