专利数据库
统计分析
产业报告
专利数据监控
产业人才
行业动态
产业政策法规
维权援助
个人中心
详情
文本
图像
标题
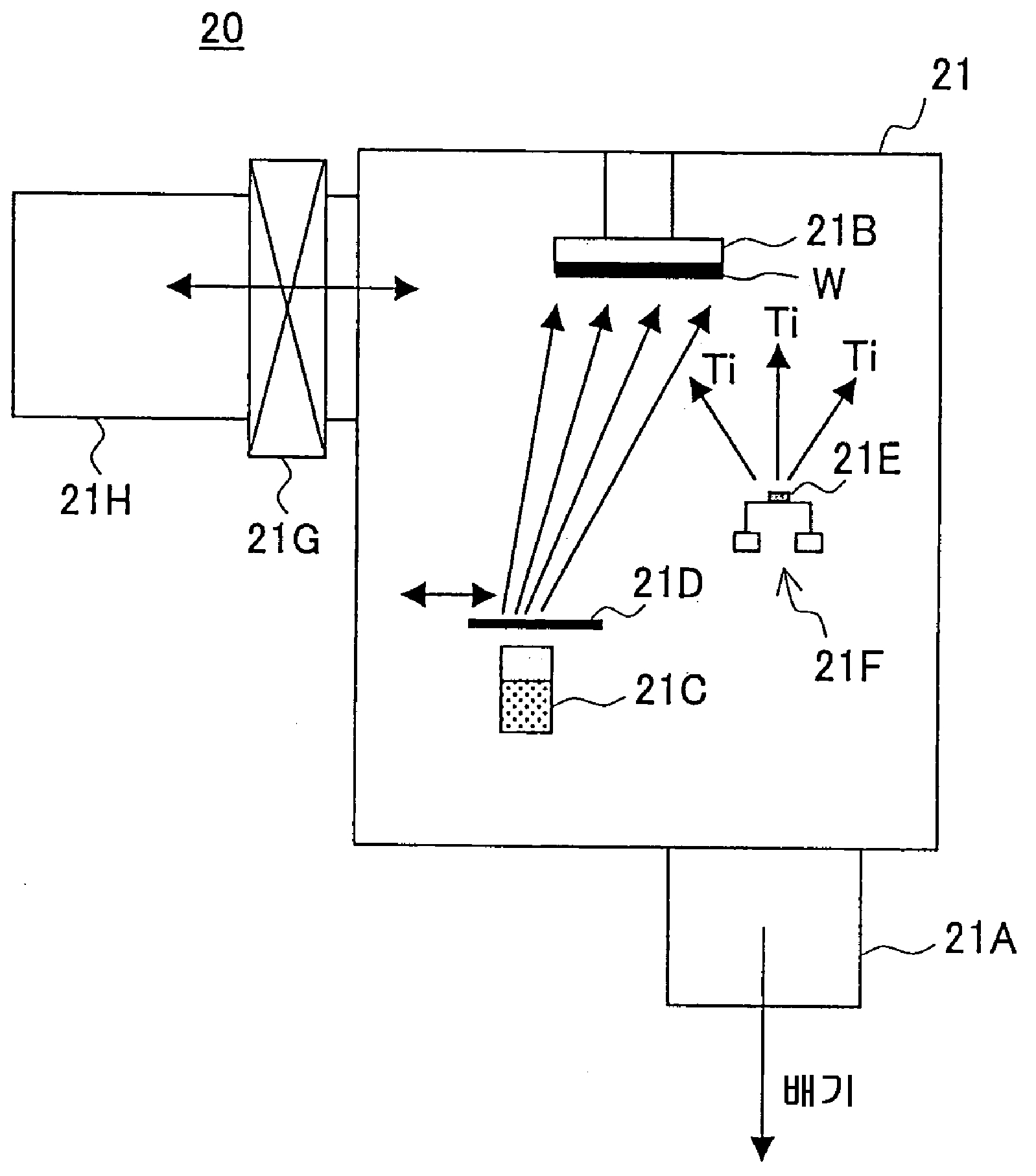
유기 EL 소자 및 그 제조 방법
授权日
1900-01-01
公开(公告)号
KR1020070015438A
申请日
2004-04-27
公开(公告)日
2007-02-02
当前申请(专利权)人
후지필름 가부시키가이샤
发明人
이타이유이치로 | 나카야마마사야
简单同族
KR100832763B1 | KR1020070015438A
简单同族成员数量
2
简单同族被引用专利总数
0
诉讼案件数
0
法律状态/事件
授权 | 权利转移
抱歉,您的浏览器不支持PDF预览,请点击链接下载PDF文件