专利数据库
统计分析
产业报告
专利数据监控
产业人才
行业动态
产业政策法规
维权援助
个人中心
详情
文本
图像
标题
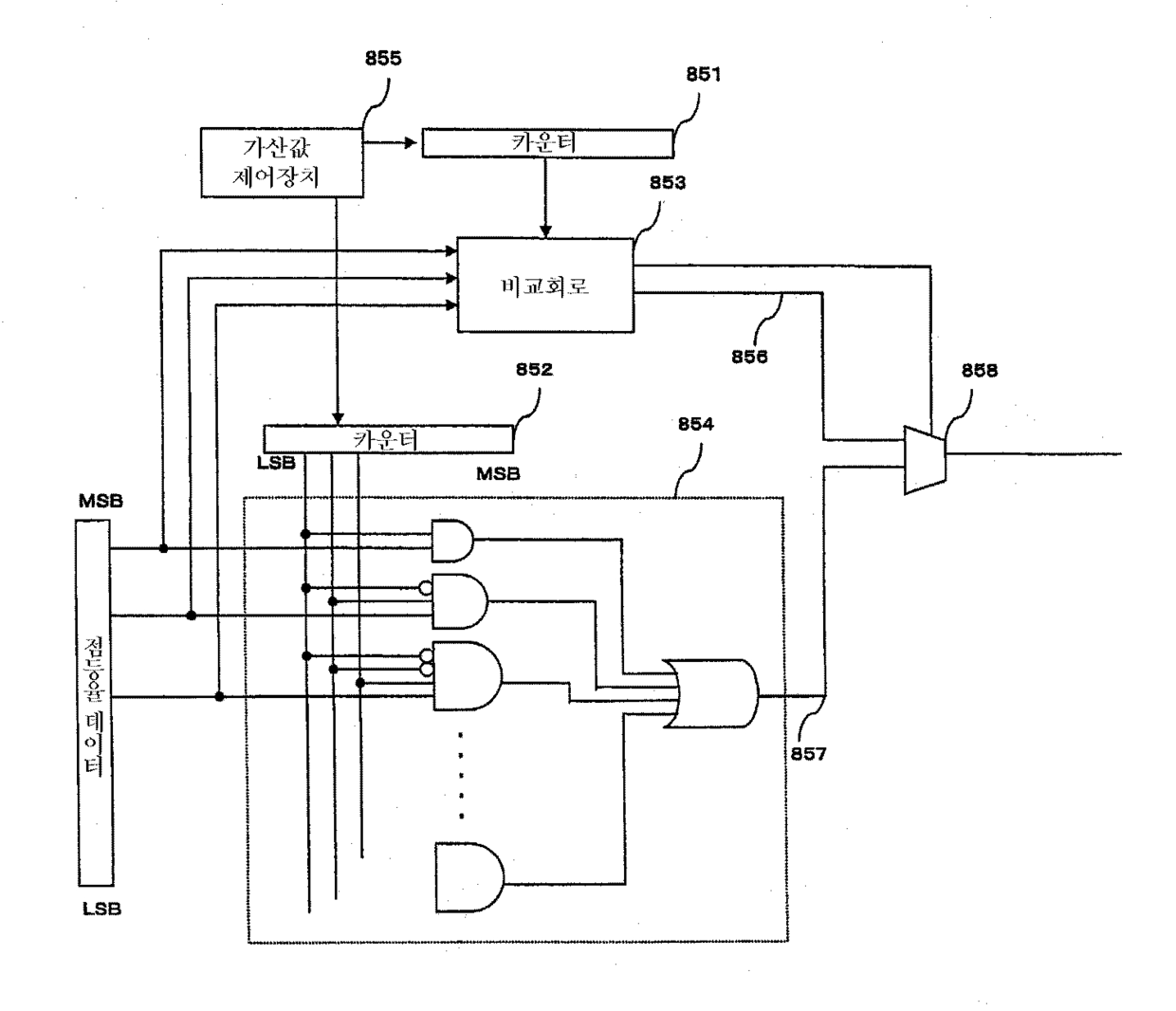
EL 표시 장치
授权日
1900-01-01
公开(公告)号
KR1020070085602A
申请日
2004-08-03
公开(公告)日
2007-08-27
当前申请(专利权)人
가부시키가이샤 저팬 디스플레이 센트럴
发明人
마에다,도모유끼
简单同族
CN1864189A | CN1864189B | EP1662467A1 | EP1662467A4 | JP4653659B2 | JPWO2005013249A1 | JPWO2005013249A5 | KR100790606B1 | KR100825145B1 | KR100832610B1 | KR1020060054425A | KR1020070074655A | KR1020070085602A | US20070152934A1 | US7592981 | WO2005013249A1
简单同族成员数量
16
简单同族被引用专利总数
88
诉讼案件数
0
法律状态/事件
授权
抱歉,您的浏览器不支持PDF预览,请点击链接下载PDF文件