专利数据库
统计分析
产业报告
专利数据监控
产业人才
行业动态
产业政策法规
维权援助
个人中心
详情
文本
图像
标题
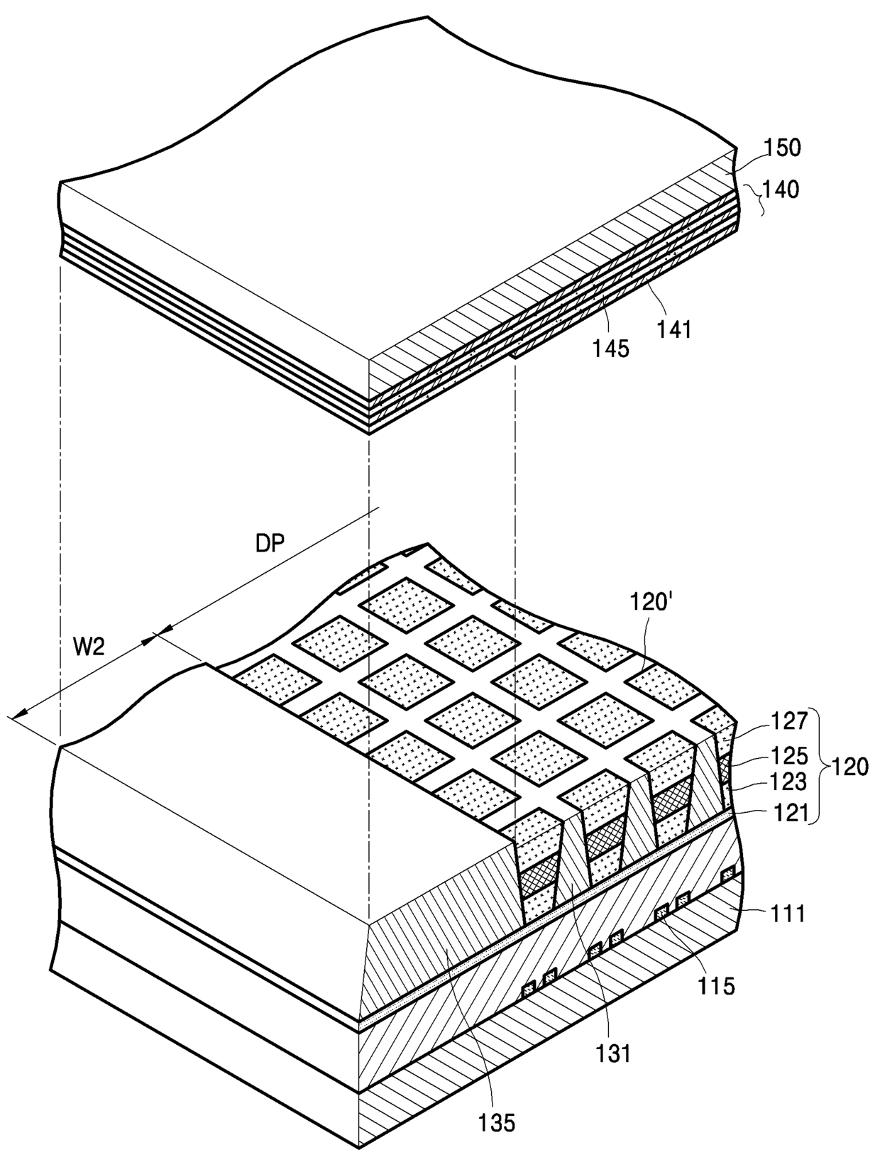
평판표시장치
授权日
2007-03-08
公开(公告)号
KR100695169B1
申请日
2006-01-11
公开(公告)日
2007-03-14
当前申请(专利权)人
삼성전자주식회사
发明人
오태식 | 강성기 | 김정우 | 이호년 | 전영태 | 송미정
简单同族
KR100695169B1 | US20070159094A1 | US20130093317A1 | US8350467 | US8716930
简单同族成员数量
5
简单同族被引用专利总数
52
诉讼案件数
0
法律状态/事件
授权 | 权利转移
抱歉,您的浏览器不支持PDF预览,请点击链接下载PDF文件