专利数据库
统计分析
产业报告
专利数据监控
产业人才
行业动态
产业政策法规
维权援助
个人中心
详情
文本
图像
标题
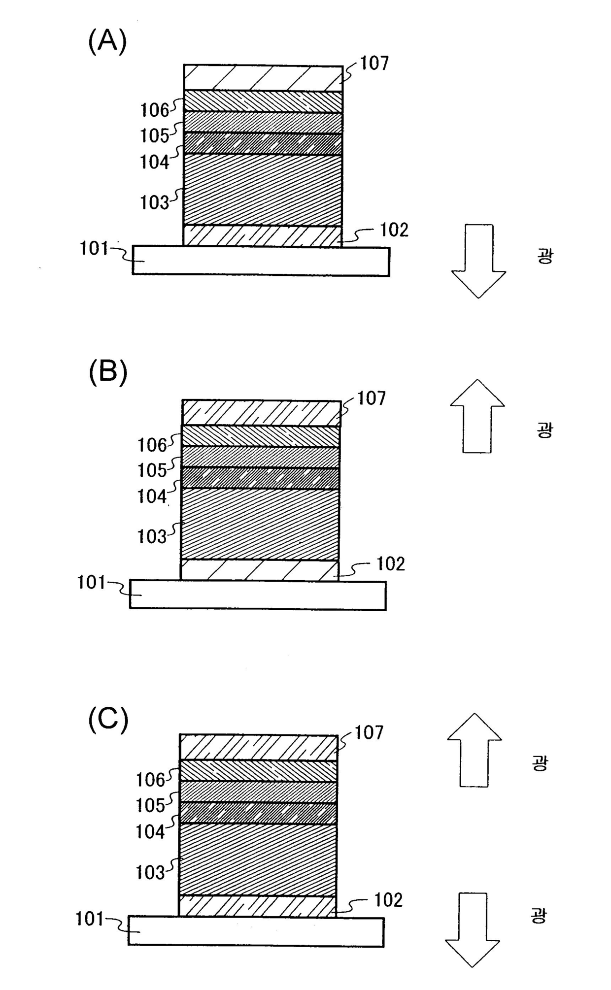
복합재료 및 그 복합재료를 사용한 발광소자 및 발광장치
授权日
1900-01-01
公开(公告)号
KR1020060103187A
申请日
2006-03-23
公开(公告)日
2006-09-28
当前申请(专利权)人
가부시키가이샤 한도오따이 에네루기 켄큐쇼
发明人
이와키유지 | 세오사토시 | 쿠마키다이스케 | 나카시마하루에 | 코지마쿠미
简单同族
CN102244205A | CN102244205B | CN102290535A | CN1837324A | CN1837324B | JP2012186501A | JP2014116624A | JP5690773B2 | JP5890441B2 | KR101254273B1 | KR101254274B1 | KR101324755B1 | KR1020060103187A | KR1020110056458A | KR1020110058749A | TW200704638A | TWI436981B | US20090309093A1 | US20100084645A1 | US7649197 | US8405070
简单同族成员数量
21
简单同族被引用专利总数
78
诉讼案件数
0
法律状态/事件
授权
抱歉,您的浏览器不支持PDF预览,请点击链接下载PDF文件