专利数据库
统计分析
产业报告
专利数据监控
产业人才
行业动态
产业政策法规
维权援助
个人中心
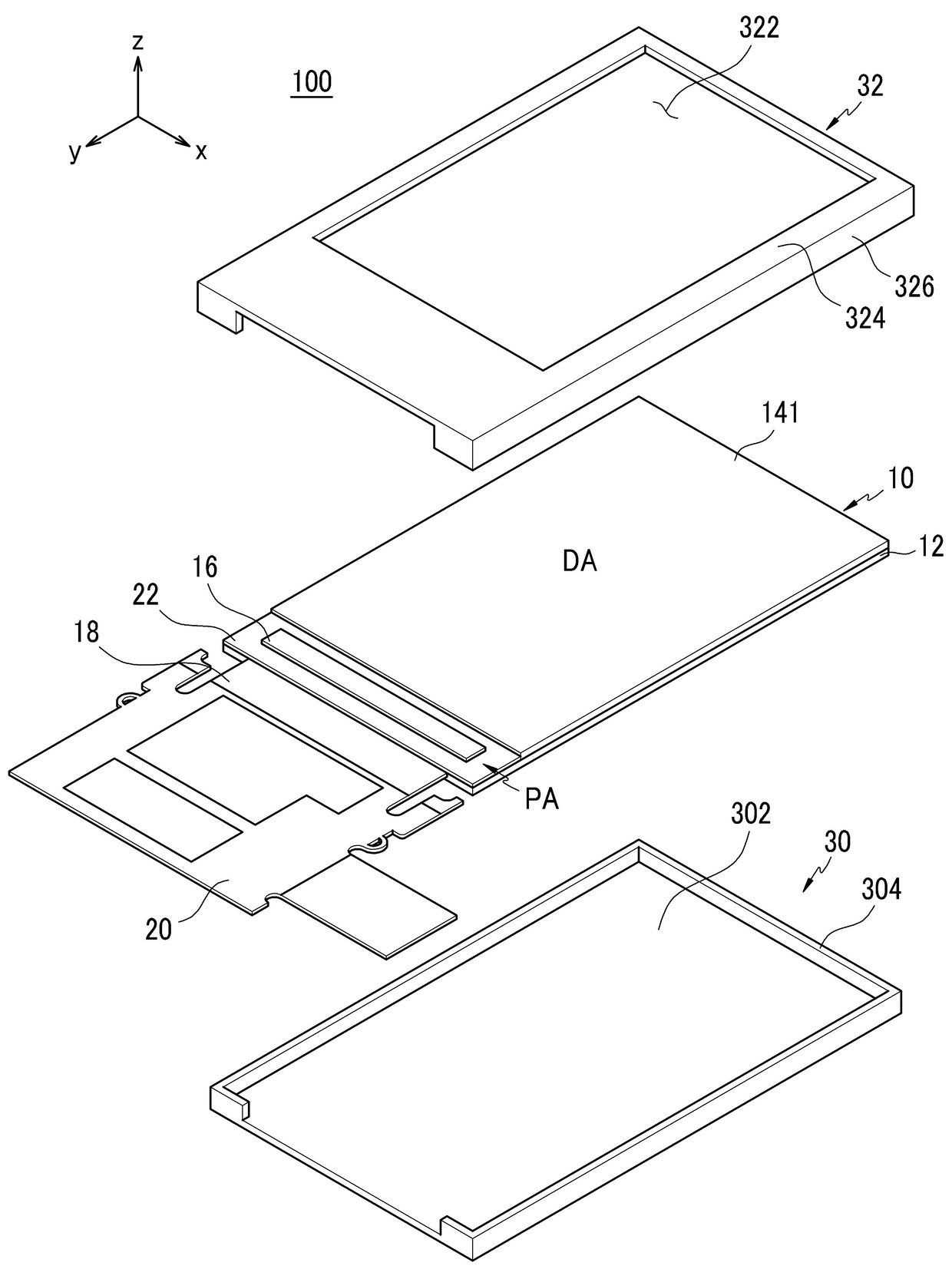
详情
文本
图像
标题
유기 발광 표시 장치
授权日
2009-03-12
公开(公告)号
KR100889531B1
申请日
2008-01-09
公开(公告)日
2009-03-19
当前申请(专利权)人
삼성모바일디스플레이주식회사
发明人
문찬경 | 하근동 | 강지호 | 이현희 | 이동수 | 임정준 | 권오준 | 황현민
简单同族
KR100889531B1
简单同族成员数量
1
简单同族被引用专利总数
0
诉讼案件数
0
法律状态/事件
授权 | 权利转移
抱歉,您的浏览器不支持PDF预览,请点击链接下载PDF文件