专利数据库
统计分析
产业报告
专利数据监控
产业人才
行业动态
产业政策法规
维权援助
个人中心
详情
文本
图像
标题
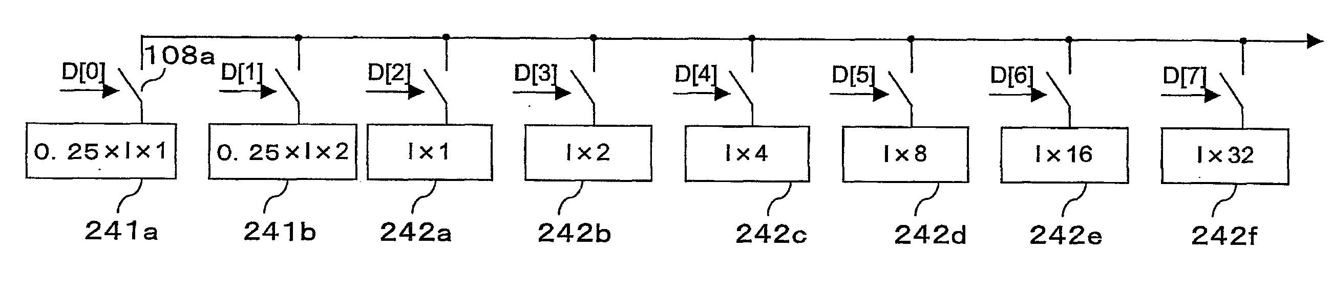
매트릭스형 표시 장치
授权日
1900-01-01
公开(公告)号
KR1020080019722A
申请日
2004-04-28
公开(公告)日
2008-03-04
当前申请(专利权)人
가부시키가이샤 저팬 디스플레이 센트럴
发明人
TSUGE, HITOSHI
简单同族
CN1784708A | JP4649332B2 | JPWO2004100119A1 | KR100812846B1 | KR100835028B1 | KR100934293B1 | KR1020060018834A | KR1020070099058A | KR1020080019722A | TW200425050A | TWI270049B | US20060279260A1 | US7561147 | WO2004100119A1
简单同族成员数量
14
简单同族被引用专利总数
56
诉讼案件数
0
法律状态/事件
授权
抱歉,您的浏览器不支持PDF预览,请点击链接下载PDF文件