专利数据库
统计分析
产业报告
专利数据监控
产业人才
行业动态
产业政策法规
维权援助
个人中心
详情
文本
图像
标题
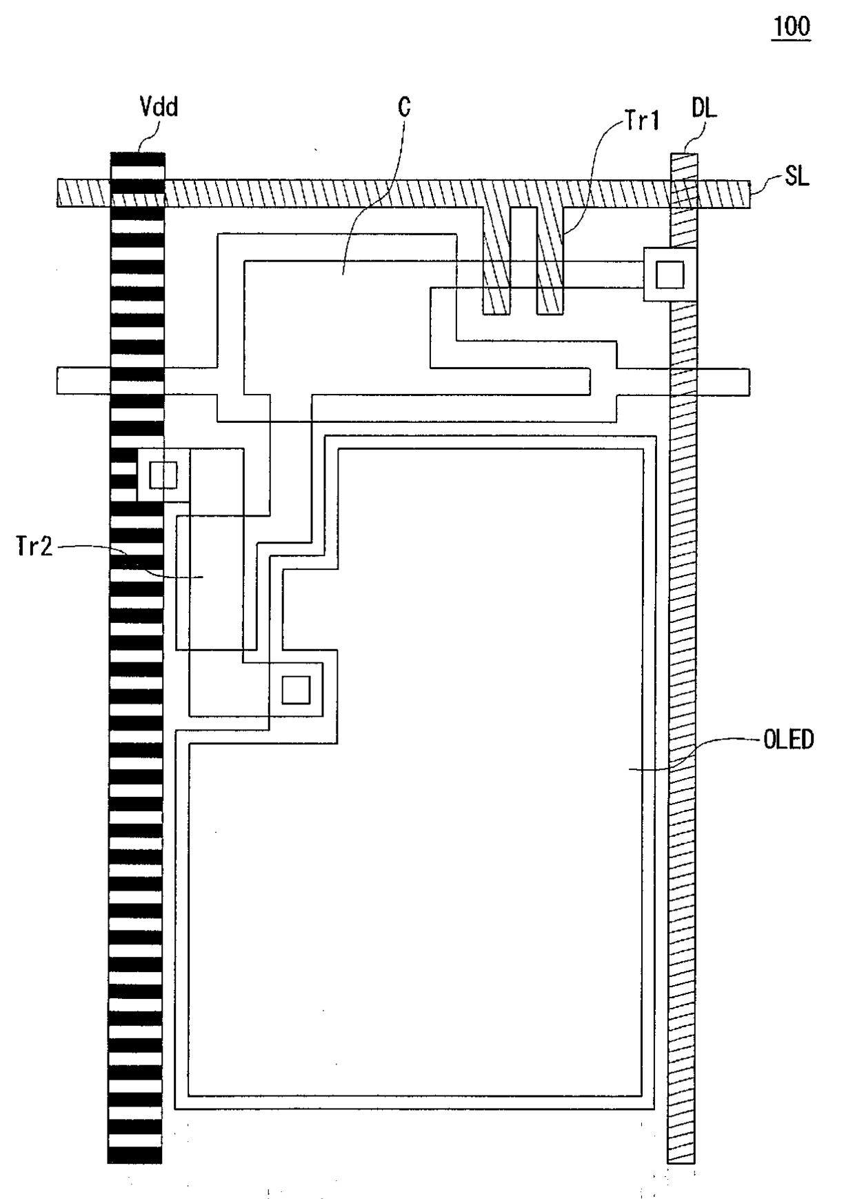
표시 장치
授权日
2007-02-26
公开(公告)号
KR100689933B1
申请日
2003-03-04
公开(公告)日
2007-03-09
当前申请(专利权)人
산요덴키가부시키가이샤
发明人
노구찌유끼히로 | 마쯔모또쇼이찌로
简单同族
CN1246824C | CN1448913A | JP2003330387A | KR100689933B1 | KR100914564B1 | KR1020030074184A | KR1020060125634A | US20030168992A1 | US6762564
简单同族成员数量
9
简单同族被引用专利总数
119
诉讼案件数
0
法律状态/事件
授权
抱歉,您的浏览器不支持PDF预览,请点击链接下载PDF文件