专利数据库
统计分析
产业报告
专利数据监控
产业人才
行业动态
产业政策法规
维权援助
个人中心
详情
文本
图像
标题
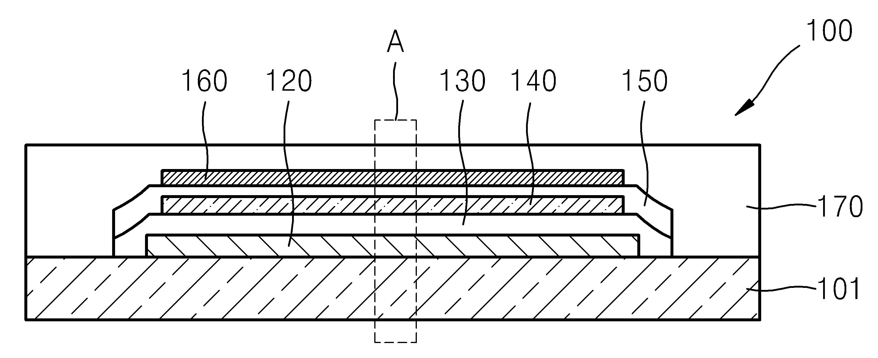
유기 발광 표시 장치
授权日
1900-01-01
公开(公告)号
KR1020100102380A
申请日
2009-03-11
公开(公告)日
2010-09-24
当前申请(专利权)人
삼성모바일디스플레이주식회사
发明人
신대범 | 서민철 | 한동원 | 이동규 | 곽진호 | 강동훈 | 김효진
简单同族
JP2010212235A | JP5079829B2 | KR100994121B1 | KR1020100102380A | US20100232162A1 | US8106583
简单同族成员数量
6
简单同族被引用专利总数
52
诉讼案件数
0
法律状态/事件
授权 | 权利转移
抱歉,您的浏览器不支持PDF预览,请点击链接下载PDF文件