专利数据库
统计分析
产业报告
专利数据监控
产业人才
行业动态
产业政策法规
维权援助
个人中心
详情
文本
图像
标题
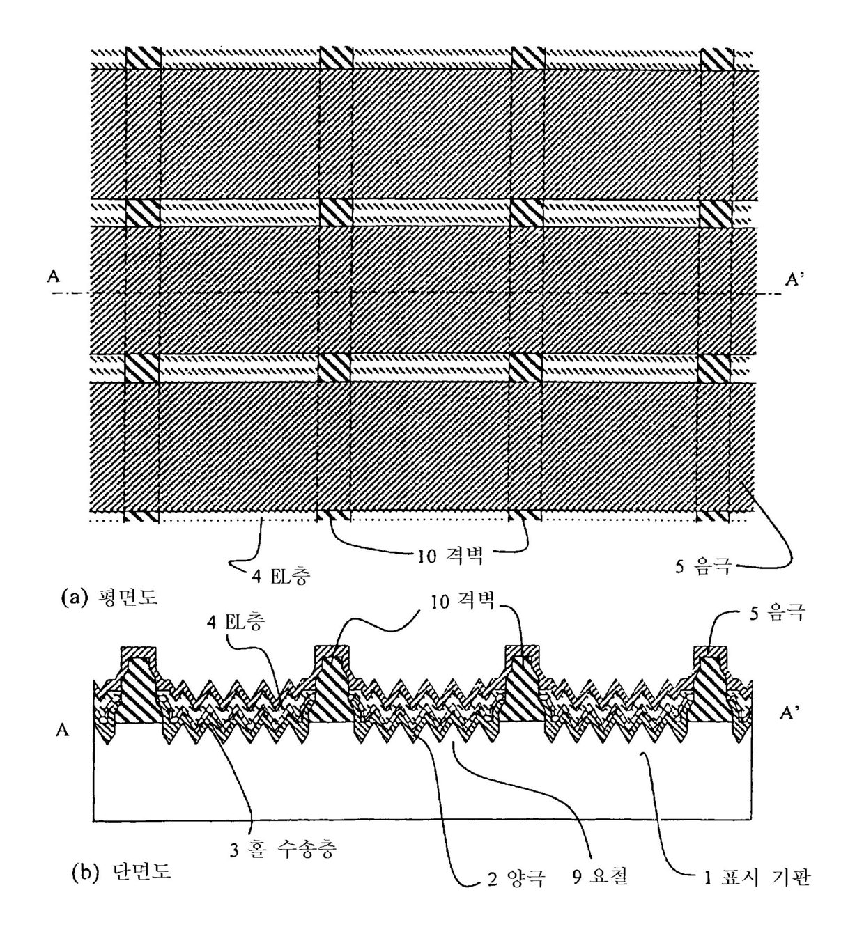
EL 표시 소자 및 그 형성 방법
授权日
2010-11-24
公开(公告)号
KR100997615B1
申请日
2003-07-23
公开(公告)日
2010-11-30
当前申请(专利权)人
후지필름 가부시키가이샤
发明人
하시모또야스노부 | 세오요시호 | 이또까와나오끼 | 기후네모또나리 | 오까와야스시
简单同族
CN100347860C | CN1479560A | EP1387406A2 | EP1387406A3 | EP1387406B1 | JP2004111354A | JP4136799B2 | KR100997615B1 | KR1020040010342A | TW200403006A | TWI222335B | US20040017152A1 | US20060009133A1 | US6954031 | US7192334
简单同族成员数量
15
简单同族被引用专利总数
142
诉讼案件数
0
法律状态/事件
授权 | 权利转移
抱歉,您的浏览器不支持PDF预览,请点击链接下载PDF文件