专利数据库
统计分析
产业报告
专利数据监控
产业人才
行业动态
产业政策法规
维权援助
个人中心
详情
文本
图像
标题
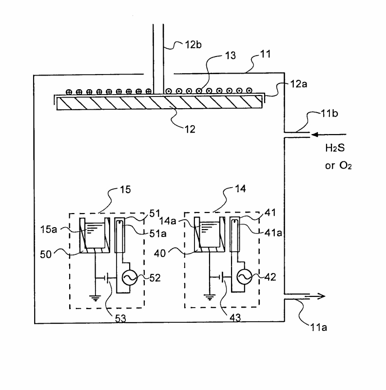
형광체박막, 그 제조방법 및 전계발광패널
授权日
1900-01-01
公开(公告)号
KR1020020005476A
申请日
2001-07-06
公开(公告)日
2002-01-17
当前申请(专利权)人
티디케이가부시기가이샤
发明人
야노요시히코 | 오이케도모유키
简单同族
CA2352522A1 | CA2352522C | CN1184277C | CN1333321A | EP1170351A2 | EP1170351A3 | JP2002180038A | JP3704057B2 | KR100405182B1 | KR1020020005476A | TWI294906B | US20020006051A1 | US6614173
简单同族成员数量
13
简单同族被引用专利总数
47
诉讼案件数
0
法律状态/事件
放弃 | 权利转移
抱歉,您的浏览器不支持PDF预览,请点击链接下载PDF文件