专利数据库
统计分析
产业报告
专利数据监控
产业人才
行业动态
产业政策法规
维权援助
个人中心
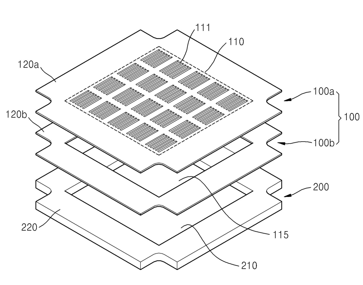
详情
文本
图像
标题
박막 증착용 마스크 프레임 조립체, 그 제조 방법 및 유기 발광 표시 장치의 제조 방법
授权日
1900-01-01
公开(公告)号
KR1020100114685A
申请日
2009-04-16
公开(公告)日
2010-10-26
当前申请(专利权)人
삼성디스플레이 주식회사
发明人
고정우 | 이상신 | 강택교 | 홍승주
简单同族
CN101864552A | CN101864552B | DE102010027852A1 | JP2010251320A | JP4956642B2 | KR101202346B1 | KR1020100114685A | TW201038754A | TWI447242B | US20100267227A1 | US20130205568A1 | US8402917 | US9321074
简单同族成员数量
13
简单同族被引用专利总数
76
诉讼案件数
0
法律状态/事件
授权
抱歉,您的浏览器不支持PDF预览,请点击链接下载PDF文件