专利数据库
统计分析
产业报告
专利数据监控
产业人才
行业动态
产业政策法规
维权援助
个人中心
详情
文本
图像
标题
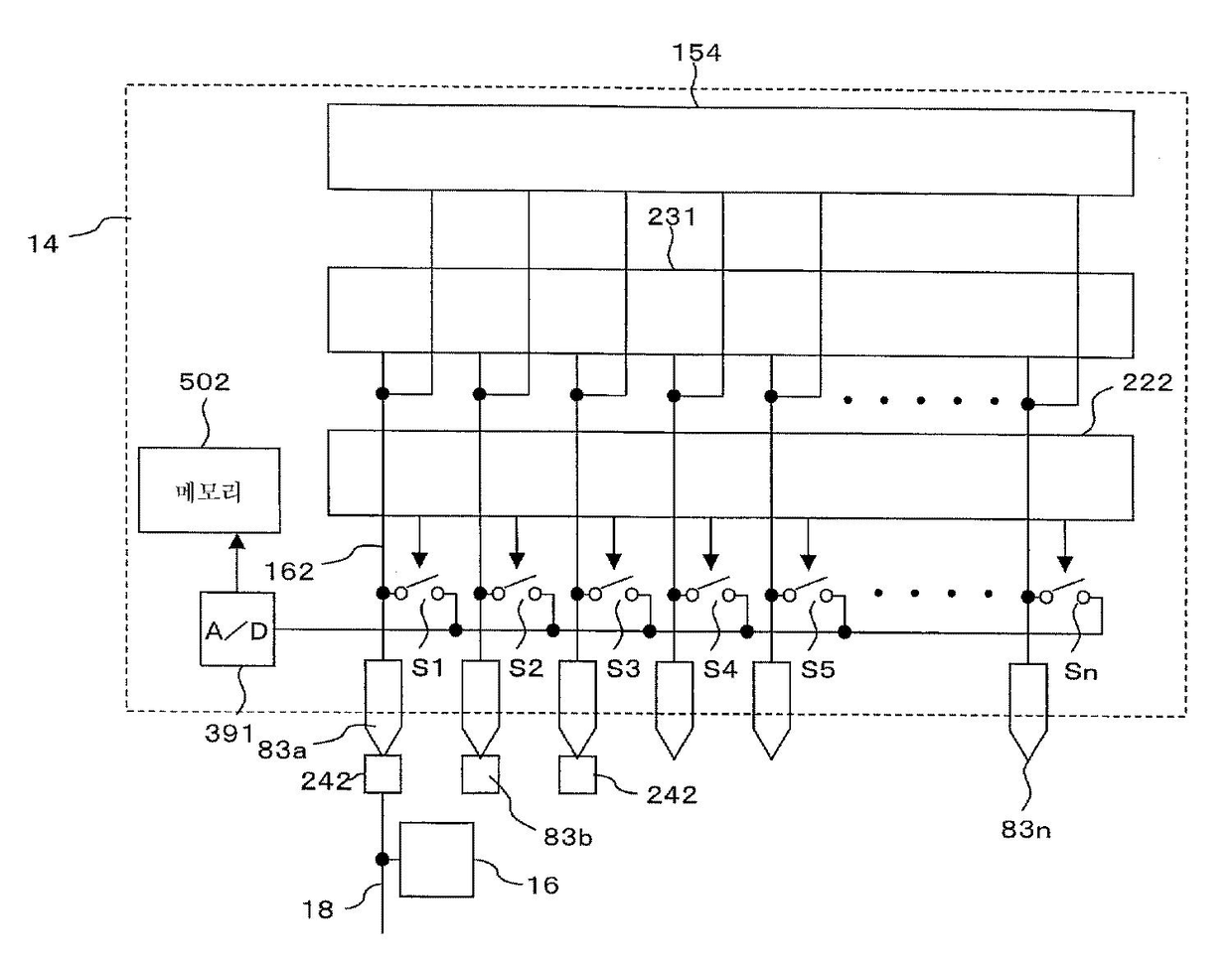
EL 표시 장치
授权日
2009-08-21
公开(公告)号
KR100914565B1
申请日
2007-01-29
公开(公告)日
2009-08-31
当前申请(专利权)人
가부시키가이샤 저팬 디스플레이 센트럴
发明人
TAKAHARA, HIROSHI
简单同族
JP2006235608A | JP2006235608A5 | KR100748739B1 | KR100914565B1 | KR100914566B1 | KR100934784B1 | KR1020060087416A | KR1020070026711A | KR1020070029772A | KR1020070029773A | US20070046587A1 | US8022899
简单同族成员数量
12
简单同族被引用专利总数
67
诉讼案件数
0
法律状态/事件
授权
抱歉,您的浏览器不支持PDF预览,请点击链接下载PDF文件