专利数据库
统计分析
产业报告
专利数据监控
产业人才
行业动态
产业政策法规
维权援助
个人中心
详情
文本
图像
标题
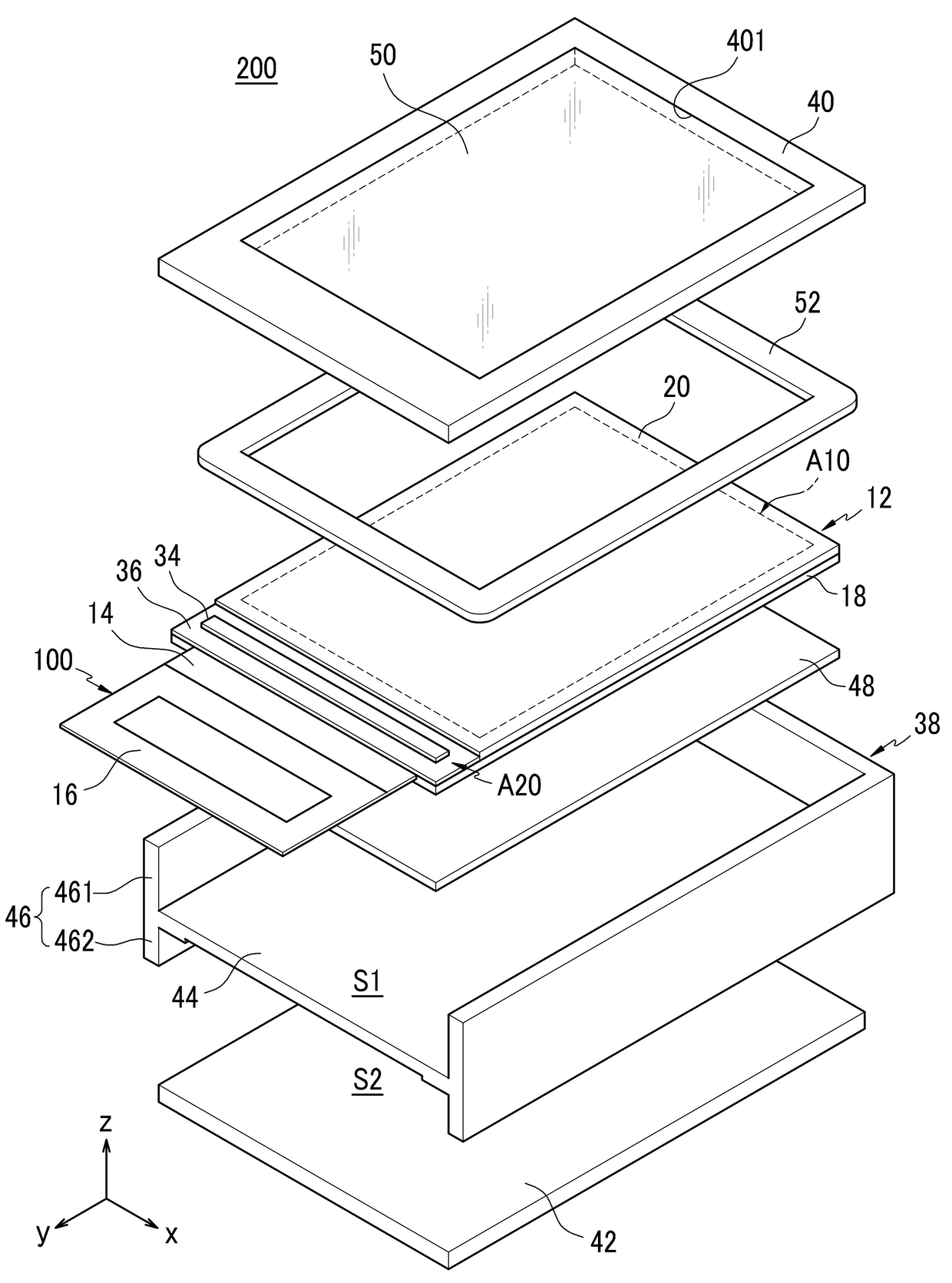
유기발광 표시장치를 구비한 전자 기기
授权日
2009-04-08
公开(公告)号
KR100893619B1
申请日
2008-02-18
公开(公告)日
2009-04-20
当前申请(专利权)人
삼성모바일디스플레이주식회사
发明人
LEE, HYUN HEE
简单同族
KR100893619B1 | US20090207560A1 | US8436958
简单同族成员数量
3
简单同族被引用专利总数
63
诉讼案件数
0
法律状态/事件
授权 | 权利转移
抱歉,您的浏览器不支持PDF预览,请点击链接下载PDF文件