专利数据库
统计分析
产业报告
专利数据监控
产业人才
行业动态
产业政策法规
维权援助
个人中心
详情
文本
图像
标题
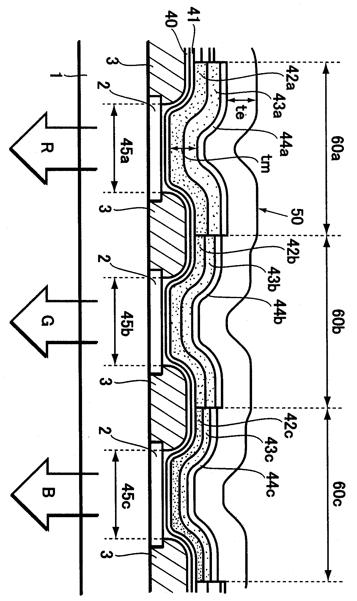
유기 EL 표시 장치 및 그 제조 방법
授权日
1900-01-01
公开(公告)号
KR1020020092793A
申请日
2002-05-20
公开(公告)日
2002-12-12
当前申请(专利权)人
도호꾸 파이오니어 가부시끼가이샤
发明人
KOZASA,NAOTO
简单同族
CN1391424A | JP2002367787A | KR100789199B1 | KR1020020092793A | TW541856B
简单同族成员数量
5
简单同族被引用专利总数
57
诉讼案件数
0
法律状态/事件
授权
抱歉,您的浏览器不支持PDF预览,请点击链接下载PDF文件