专利数据库
统计分析
产业报告
专利数据监控
产业人才
行业动态
产业政策法规
维权援助
个人中心
详情
文本
图像
标题
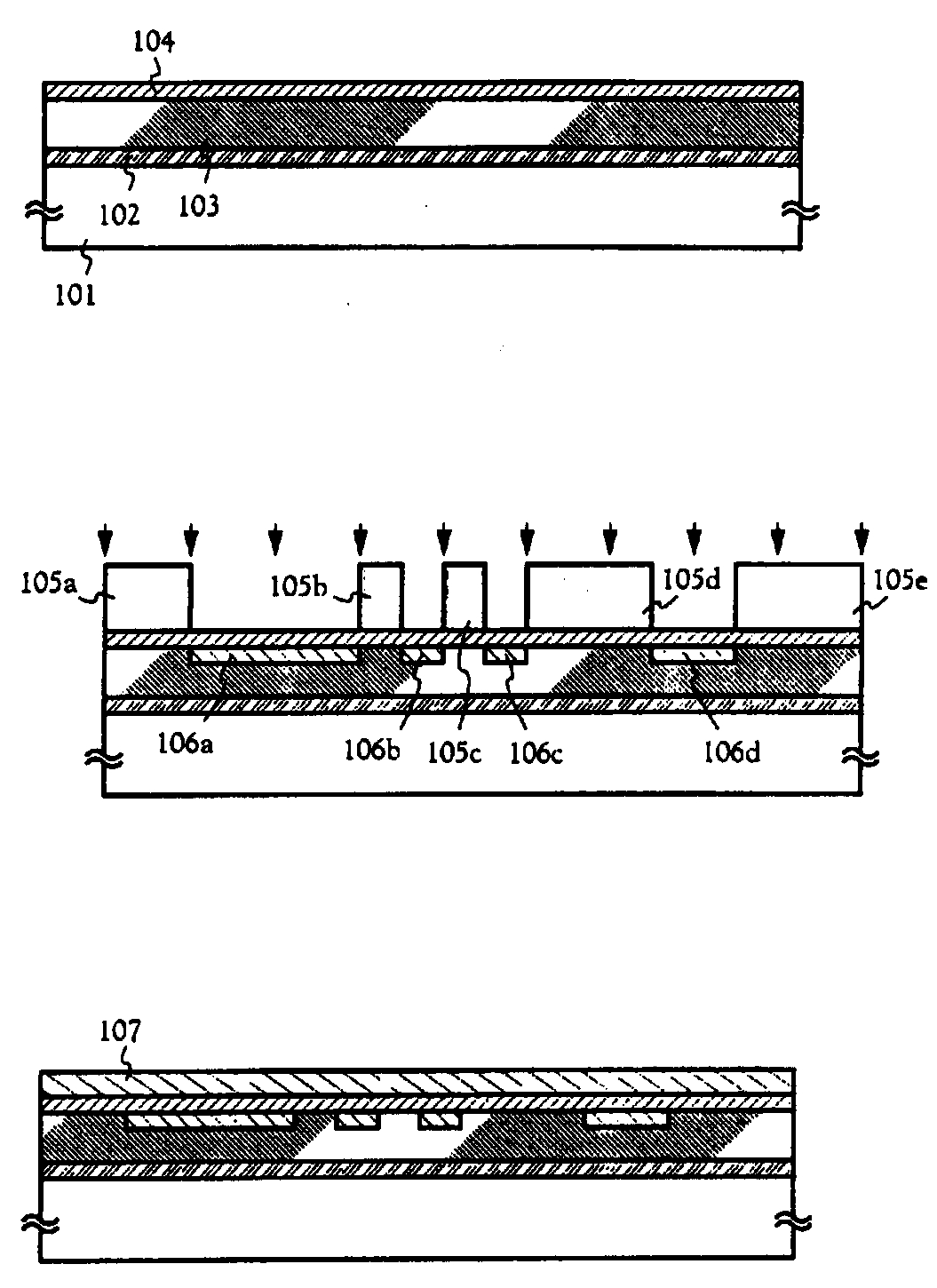
전자 발광 디스플레이 디바이스 및 이를 제작하는 방법
授权日
1900-01-01
公开(公告)号
KR1020010029987A
申请日
2000-07-22
公开(公告)日
2001-04-16
当前申请(专利权)人
가부시키가이샤 한도오따이 에네루기 켄큐쇼
发明人
야마자키순페이 | 츠츠이데츠오 | 미즈카미마유미
简单同族
CN101916828A | CN101916828B | CN1282064A | CN1282064B | DE60045463D1 | EP1071145A2 | EP1071145A3 | EP1071145B1 | JP2001102176A | JP2001102176A5 | JP4463392B2 | KR100722180B1 | KR100793042B1 | KR1020010029987A | KR1020050082165A | TW465119B | US20040028807A1 | US6620528 | US7205019
简单同族成员数量
19
简单同族被引用专利总数
111
诉讼案件数
0
法律状态/事件
未缴年费
抱歉,您的浏览器不支持PDF预览,请点击链接下载PDF文件