专利数据库
统计分析
产业报告
专利数据监控
产业人才
行业动态
产业政策法规
维权援助
个人中心
详情
文本
图像
标题
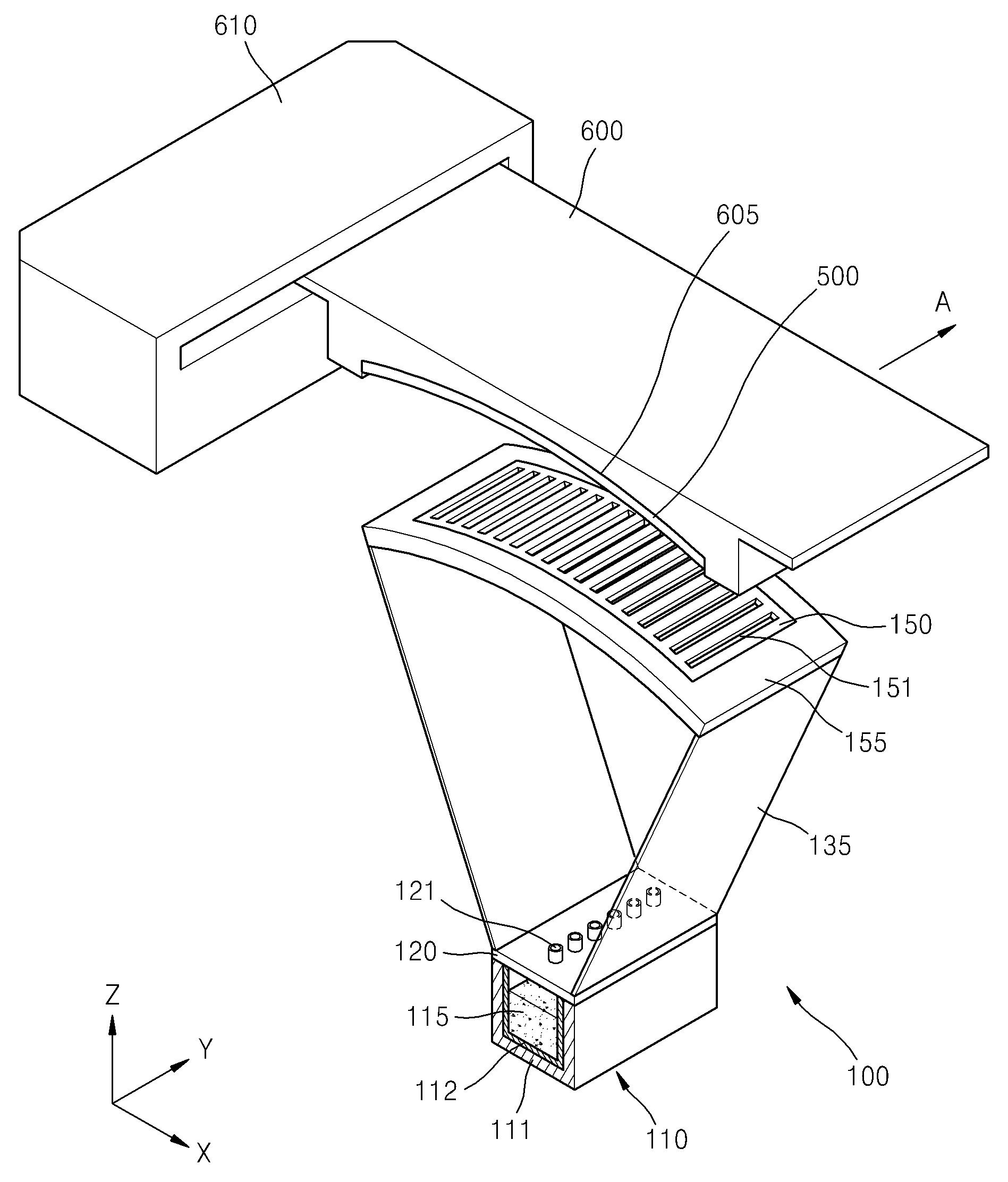
발명의 명칭 유기층 증착 장치 및 이를 이용한 유기 발광 디스플레이 장치의 제조 방법
授权日
2017-04-20
公开(公告)号
KR101730498B1
申请日
2010-10-22
公开(公告)日
2017-04-27
当前申请(专利权)人
삼성디스플레이 주식회사
发明人
프루신스키발레리 | 카플란렌 | 정세호 | 현원식 | 나흥열 | 박경태 | 정병성 | 최용섭
简单同族
CN102456852A | CN102456852B | JP2012092448A | JP5882668B2 | KR101730498B1 | KR1020120042153A | US20120100644A1 | US8461058
简单同族成员数量
8
简单同族被引用专利总数
48
诉讼案件数
0
法律状态/事件
授权
抱歉,您的浏览器不支持PDF预览,请点击链接下载PDF文件