专利数据库
统计分析
产业报告
专利数据监控
产业人才
行业动态
产业政策法规
维权援助
个人中心
详情
文本
图像
标题
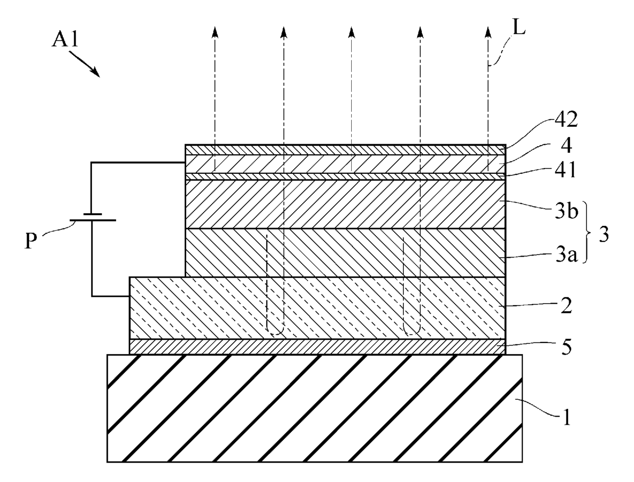
유기 EL 소자, 유기 EL 표시 장치 및 유기 EL 소자의제조 방법
授权日
1900-01-01
公开(公告)号
KR1020080010455A
申请日
2006-06-06
公开(公告)日
2008-01-30
当前申请(专利权)人
로무 가부시키가이샤
发明人
시모지,노리유끼 | 모리와께,마사또 | 후찌까미,다까아끼 | 가또,히로끼
简单同族
CN101194378A | JP2006344497A | JP4699098B2 | KR1020080010455A | TW200708195A | US20090102358A1 | US8018137 | WO2006132226A1
简单同族成员数量
8
简单同族被引用专利总数
99
诉讼案件数
0
法律状态/事件
放弃
抱歉,您的浏览器不支持PDF预览,请点击链接下载PDF文件