专利数据库
统计分析
产业报告
专利数据监控
产业人才
行业动态
产业政策法规
维权援助
个人中心
详情
文本
图像
标题
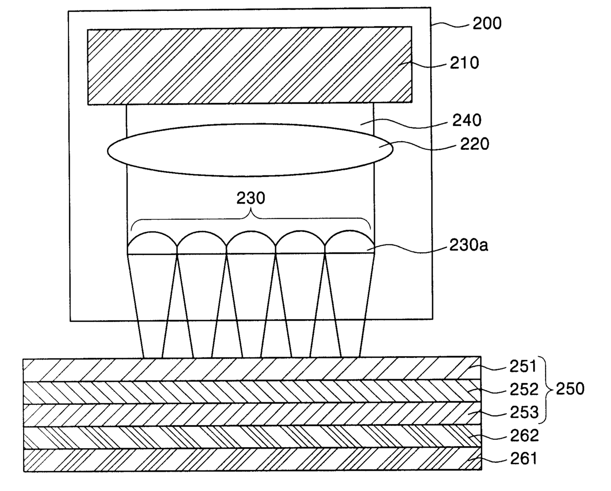
레이저 조사장치 및 그를 이용한 유기전계발광소자의제조방법
授权日
2008-01-15
公开(公告)号
KR100796597B1
申请日
2006-07-14
公开(公告)日
2008-01-21
当前申请(专利权)人
삼성에스디아이 주식회사
发明人
곽노민 | 강태민 | 이재호 | 김진수 | 이대우 | 이성택
简单同族
KR100796597B1 | KR1020080007000A
简单同族成员数量
2
简单同族被引用专利总数
0
诉讼案件数
0
法律状态/事件
授权 | 权利转移
抱歉,您的浏览器不支持PDF预览,请点击链接下载PDF文件