专利数据库
统计分析
产业报告
专利数据监控
产业人才
行业动态
产业政策法规
维权援助
个人中心
详情
文本
图像
标题
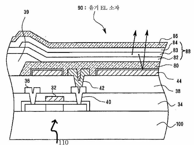
표시 장치 및 그 제조 방법
授权日
1900-01-01
公开(公告)号
KR1020040097031A
申请日
2004-10-18
公开(公告)日
2004-11-17
当前申请(专利权)人
산요덴키가부시키가이샤
发明人
이노우에가즈히로 | 고마노리오 | 오가와신지 | 야마시따도루 | 오다노부히꼬 | 이시다사또시 | 야마다쯔또무
简单同族
CN100514138C | CN1186684C | CN1432854A | CN1603923A | DE60209456D1 | DE60209456T2 | EP1324109A1 | EP1324109A8 | EP1324109B1 | EP1564814A2 | JP2003202587A | JP3995476B2 | KR100500337B1 | KR100602531B1 | KR100621492B1 | KR100668009B1 | KR1020030057456A | KR1020040097031A | KR1020050116123A | KR1020060059929A | TW200301395A | TW588205B | US20030156239A1 | US20060262254A1 | US20070200983A9
简单同族成员数量
25
简单同族被引用专利总数
83
诉讼案件数
0
法律状态/事件
放弃
抱歉,您的浏览器不支持PDF预览,请点击链接下载PDF文件