专利数据库
统计分析
产业报告
专利数据监控
产业人才
行业动态
产业政策法规
维权援助
个人中心
详情
文本
图像
标题
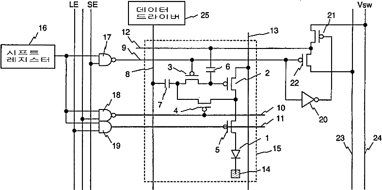
PWM 제어를 가지는 OLED 디스플레이 패널
授权日
2015-03-12
公开(公告)号
KR101503823B1
申请日
2009-03-17
公开(公告)日
2015-03-18
当前申请(专利权)人
글로벌 오엘이디 테크놀러지 엘엘씨
发明人
카와베카즈요시
简单同族
CN101978415A | CN101978415B | EP2255354A1 | EP2255354B1 | JP2009223243A | JP5352101B2 | KR101503823B1 | KR1020100124338A | US20110084993A1 | WO2009117090A1
简单同族成员数量
10
简单同族被引用专利总数
55
诉讼案件数
0
法律状态/事件
授权
抱歉,您的浏览器不支持PDF预览,请点击链接下载PDF文件