专利数据库
统计分析
产业报告
专利数据监控
产业人才
行业动态
产业政策法规
维权援助
个人中心
详情
文本
图像
标题
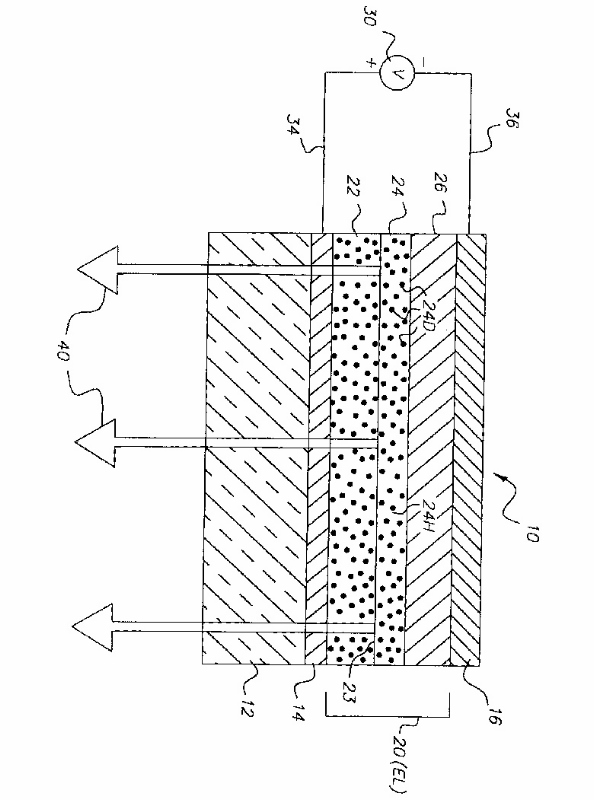
유기 발광 디바이스를 제조하기 위해 예비-도핑된 물질을사용하는 방법
授权日
1900-01-01
公开(公告)号
KR1020010105298A
申请日
2001-05-19
公开(公告)日
2001-11-28
当前申请(专利权)人
이스트맨 코닥 캄파니
发明人
SHI,JIANMIN
简单同族
CN1336411A | EP1156536A2 | EP1156536A3 | JP2002025770A | KR1020010105298A | TW593622B | US20040016907A1
简单同族成员数量
7
简单同族被引用专利总数
126
诉讼案件数
0
法律状态/事件
驳回
抱歉,您的浏览器不支持PDF预览,请点击链接下载PDF文件