专利数据库
统计分析
产业报告
专利数据监控
产业人才
行业动态
产业政策法规
维权援助
个人中心
详情
文本
图像
标题
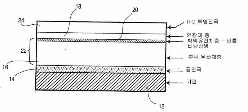
굽는 온도가 낮은 전계 발광 표시 소자용 후막 유전체층
授权日
1900-01-01
公开(公告)号
KR1020040076873A
申请日
2002-12-16
公开(公告)日
2004-09-03
当前申请(专利权)人
이화이어 아이피 코포레이션
发明人
리우 | 안성일 | 양마이지 | 우싱웨이 | 이성위 | 실레다니엘제이 | 스미윌리엄엠 | 유펭에 | 장후이
简单同族
AT428291T | AU2002350325A1 | CA2469508A1 | CA2469508C | CN100589672C | CN1606897A | DE60231910D1 | EP1459601A1 | EP1459601B1 | JP2005513752A | JP2005513752A6 | KR1020040076873A | US20040247858A1 | US6919126 | WO2003056879A1
简单同族成员数量
15
简单同族被引用专利总数
52
诉讼案件数
0
法律状态/事件
放弃
抱歉,您的浏览器不支持PDF预览,请点击链接下载PDF文件