专利数据库
统计分析
产业报告
专利数据监控
产业人才
行业动态
产业政策法规
维权援助
个人中心
详情
文本
图像
标题
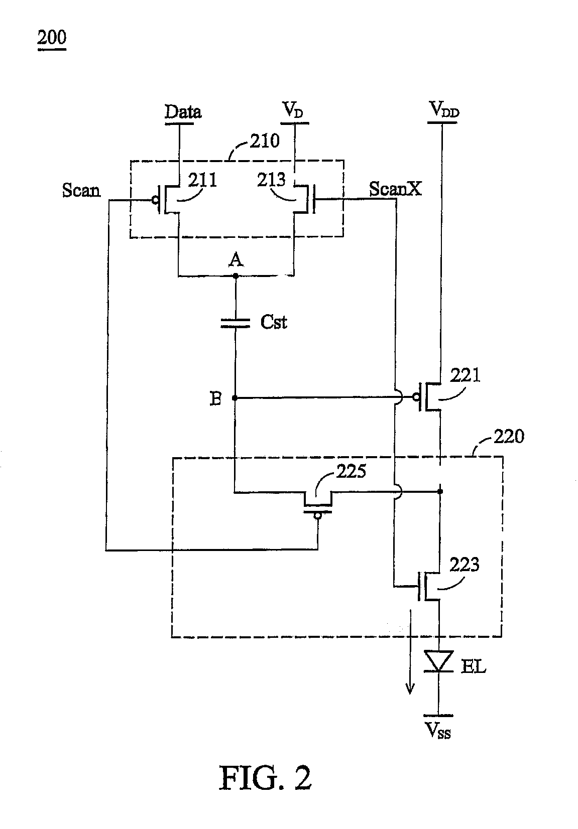
임계 전압 보상을 갖는 화소 구동 회로
授权日
1900-01-01
公开(公告)号
KR1020060048924A
申请日
2005-07-29
公开(公告)日
2006-05-18
当前申请(专利权)人
탑폴리 옵토일렉트로닉스 코포레이션
发明人
펭,두 젠 | 후앙,시 펭
简单同族
EP1624437A2 | EP1624437A3 | JP2006048041A | JP4398413B2 | KR100734808B1 | KR1020060048924A | TW200606781A | TWI313442B | US20060023551A1 | US7616177
简单同族成员数量
10
简单同族被引用专利总数
69
诉讼案件数
0
法律状态/事件
授权
抱歉,您的浏览器不支持PDF预览,请点击链接下载PDF文件