专利数据库
统计分析
产业报告
专利数据监控
产业人才
行业动态
产业政策法规
维权援助
个人中心
详情
文本
图像
标题
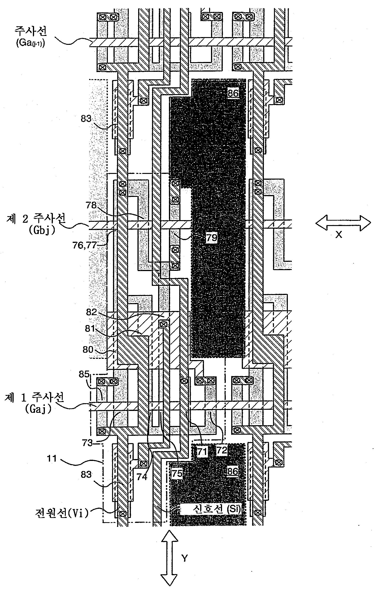
디스플레이 디바이스, 발광 디바이스, 및 전자 장비
授权日
1900-01-01
公开(公告)号
KR1020030071631A
申请日
2003-02-27
公开(公告)日
2003-09-06
当前申请(专利权)人
가부시키가이샤 한도오따이 에네루기 켄큐쇼
发明人
INUKAI,KAZUTAKA
简单同族
CN100361183C | CN1442843A | DE60336871D1 | EP1341148A2 | EP1341148A3 | EP1341148B1 | KR100952318B1 | KR1020030071631A | SG110023A1 | TW200304102A | TWI276031B | US20030164685A1 | US20050030304A1 | US6798148 | US7528799
简单同族成员数量
15
简单同族被引用专利总数
127
诉讼案件数
0
法律状态/事件
授权
抱歉,您的浏览器不支持PDF预览,请点击链接下载PDF文件