专利数据库
统计分析
产业报告
专利数据监控
产业人才
行业动态
产业政策法规
维权援助
个人中心
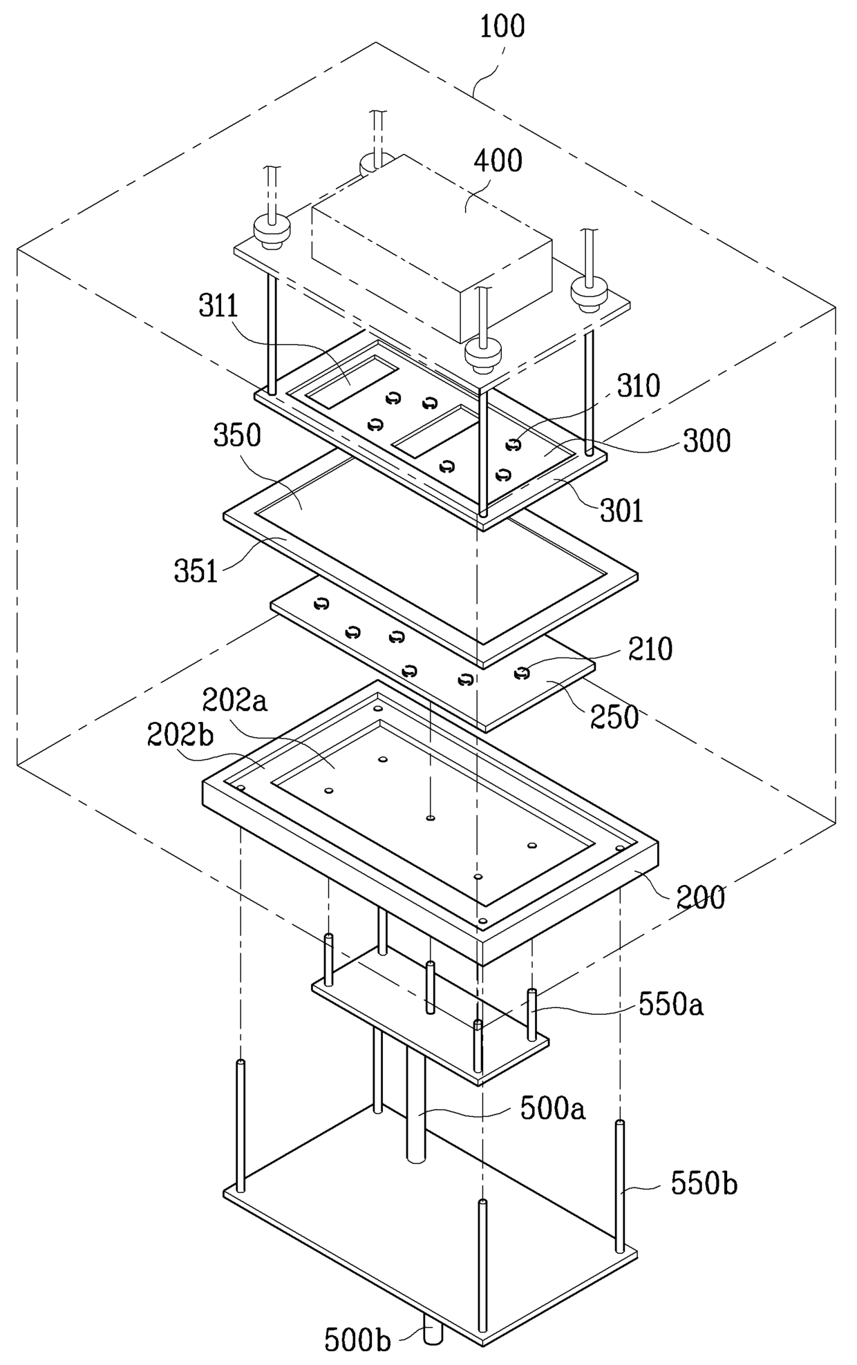
详情
文本
图像
标题
레이저 열 전사 장치 및 레이저 열 전사 방법 그리고 이를이용한 유기 발광 표시소자
授权日
2007-03-21
公开(公告)号
KR100700832B1
申请日
2005-11-16
公开(公告)日
2007-03-28
当前申请(专利权)人
삼성에스디아이 주식회사
发明人
노석원 | 김무현 | 이상봉 | 김선호 | 성진욱
简单同族
KR100700832B1
简单同族成员数量
1
简单同族被引用专利总数
0
诉讼案件数
0
法律状态/事件
未缴年费 | 权利转移
抱歉,您的浏览器不支持PDF预览,请点击链接下载PDF文件