专利数据库
统计分析
产业报告
专利数据监控
产业人才
行业动态
产业政策法规
维权援助
个人中心
详情
文本
图像
标题
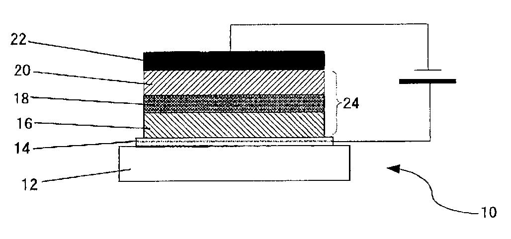
1,3,6,8-사치환 피렌 화합물, 유기 EL 소자 및 유기EL 디스플레이
授权日
2010-06-16
公开(公告)号
KR100965811B1
申请日
2003-08-07
公开(公告)日
2010-06-24
当前申请(专利权)人
후지필름 홀딩스 가부시끼가이샤
发明人
소토야마와타루 | 사토히로유키 | 마츠우라아주마 | 나루사와토시아키
简单同族
CN1321104C | CN1487778A | EP1403354A1 | EP1403354B1 | JP2004083507A | JP4060669B2 | KR100965811B1 | KR1020040019885A | TW200405763A | TWI252056B | US20040053069A1
简单同族成员数量
11
简单同族被引用专利总数
62
诉讼案件数
0
法律状态/事件
授权 | 权利转移
抱歉,您的浏览器不支持PDF预览,请点击链接下载PDF文件